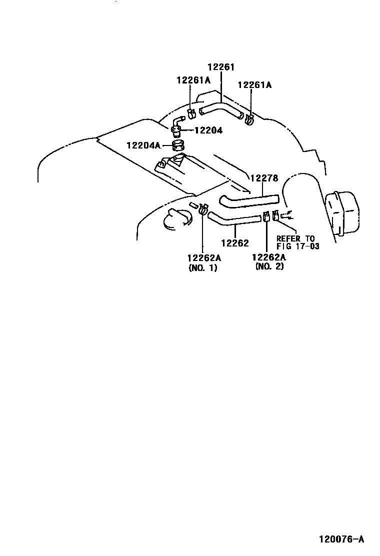
VENTILATION HOSE

12204VALVE SUB-ASSY, VENTILATION
12204AGROMMET(FOR VENTILATION SYSTEM)
12261ACLIP OR CLAMP(FOR VENTILATION HOSE)
12278INSULATOR, VENTILATION HOSE HEAT
1703
8 parts on this diagram · 1 diagram in section

8 parts on this diagram · 1 diagram in section