E
EPC Data

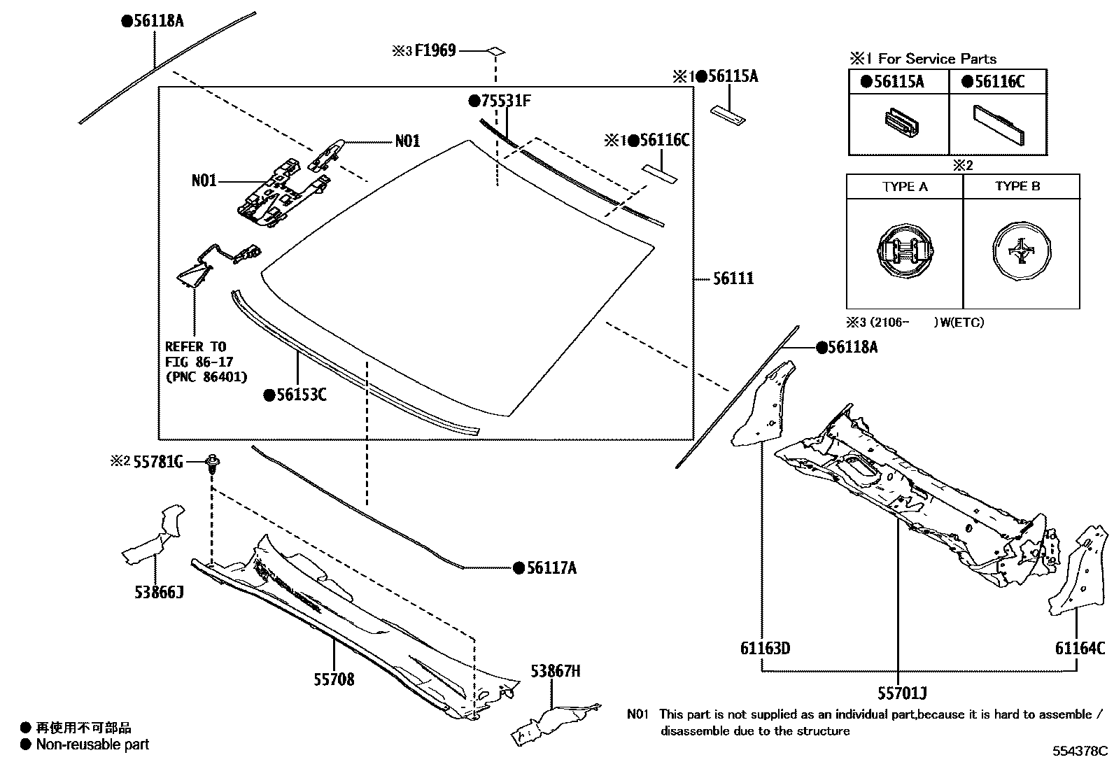
COWL PANEL & WINDSHIELD GLASS

Parts diagram
53866JSEAL, FRONT FENDER TO COWL SIDE, RH
main53866-07030i201903-202107
53867HSEAL, FRONT FENDER TO COWL SIDE, LH
main53867-07030i201903-202106
55701JPANEL SUB-ASSY, COWL TOP, OUTER
main55701-07060i201903-202106
55708LOUVER SUB-ASSY, COWL TOP VENTILATOR
main55708-07040i201903-202106
main55708-YK010i202407
FRAME NO.=SXXXXXX
main55708-YK020i202407
FRAME NO.=0XXXXXX
55781GCLIP, COWL TOP VENTILATOR LOUVER
main90467-09242×2i201903-202107
TYPE A:REFER ILLUST.
main90467-C0030×2i202106-202303
TYPE B:REFER ILLUST.
main90467-C0071×2i202304-202407
(L),TYPE A:REF ILL.
56111GLASS, WINDSHIELD
main56101-07010i202106-202203
main56101-07190i201903-202106
main56101-07200i201903-202107
main56101-07250i202107-202202
main56101-07260i202304-202407
main56101-07270i202304
main56101-07280i202203-202303
main56101-07290i202304
main56101-YK020i202407
main56101-YK030i202407
main56101-YK040i202407
56115ASTOPPER, WINDSHIELD GLASS, NO.1
main56115-30120×2i201903-202106
56116CSTOPPER, WINDSHIELD GLASS, NO.2
main56116-22050×2i201903-202107
56117ADAM, WINDOW GLASS ADHESIVE
main56117-07040i201903-202106
L=1298
56118ADAM, WINDOW GLASS ADHESIVE, NO.2
main56118-07030×2i201903-202106
L=725
56153CMOULDING, FRONT WINDOW, INNER CENTER
main56153-07020i202304-202407
61163DPILLAR, FRONT BODY, LOWER INNER RH
main61163-07020i201903-202107
61164CPILLAR, FRONT BODY, LOWER INNER LH
main61164-07020i202304
75531FMOULDING, WINDSHIELD, OUTSIDE UPPER
main75531-07040i202304-202407
main75531-YK010i202407
8617
F1969TAPE, SEAL(FOR TOLL COLLECTION COMPUTER)
mainF1969YY010i202106-202202
ETC-WITH
mainF1969YY020i202203-202303
ETC-WITH

16 parts on this diagram · 1 diagram in section

COWL PANEL & WINDSHIELD GLASS — Toyota Parts Diagram with OEM Numbers & Prices | EPC Data