E
EPC Data

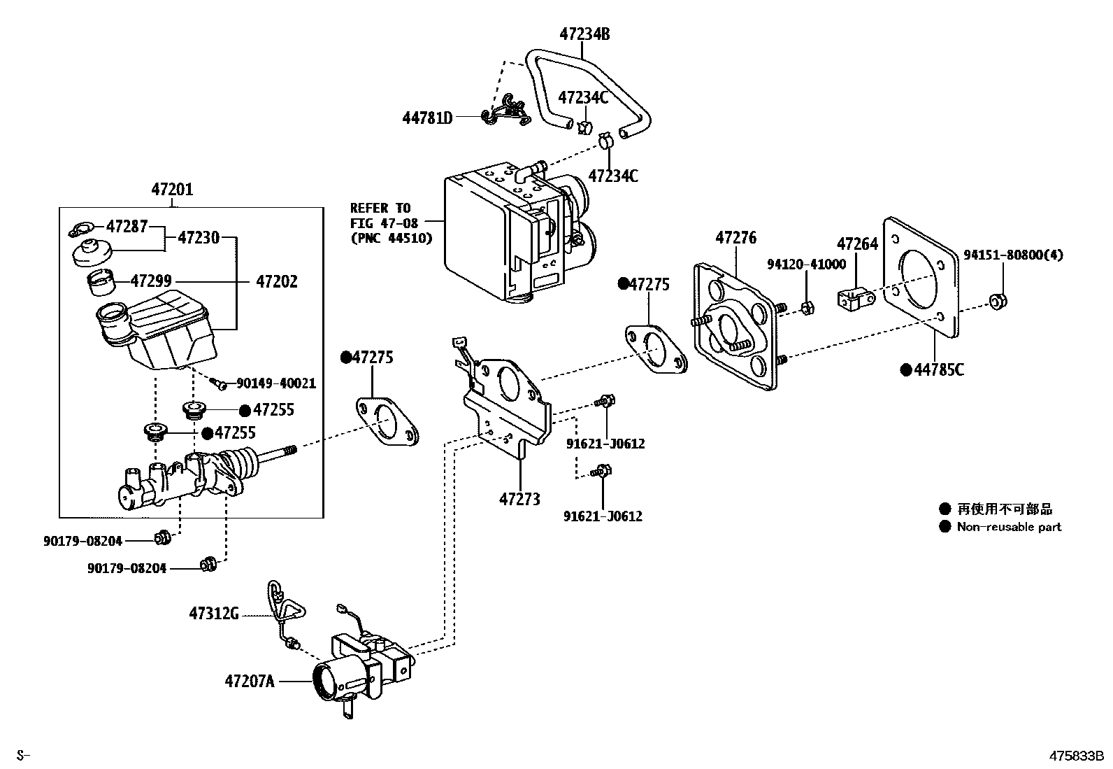
BRAKE MASTER CYLINDER

Parts diagram
44781DBRACKET, RESERVOIR HOSE
main44781-30020i200602-200709
main44781-30030i200602-200709
44785CGASKET, BRAKE BOOSTER
main44785-47010i200709
4708
47201CYLINDER SUB-ASSY, BRAKE MASTER
main47201-30760i200602-200709
main47201-30770i200602-200709
47202RESERVOIR SUB-ASSY, BRAKE MASTER CYLINDER
main47220-30190i200709
main47220-30200i200602-200709
47207ACYLINDER SUB-ASSY, BRAKE STROKE SIMULATOR
main47207-30030i200602-200709
main47207-30040i200602-200709
47230CAP ASSY, BRAKE MASTER CYLINDER RESERVOIR FILLER
main47230-20140i200602-200709
47234BTUBE, RESERVOIR, NO.1
main47234-30010i200602-200709
main47234-30020i200602-200709
47234CCLIP(FOR RESERVOIR TUBE NO.1)
main96135-51300×2i200602-200709
47255GROMMET, MASTER CYLINDER RESERVOIR
main47255-16010×2i200602-200709
47264CLEVIS, MASTER CYLINDER PUSH ROD
main47264-42010i200602-200709
47273BRACKET, BRAKE STROKE SIMULATOR
main47273-30010i200709
main47273-48010i200602-200709
47275GASKET, BRAKE MASTER CYLINDER
main47275-12020×2i200602-200709
47276BRACKET, BRAKE MASTER CYLINDER
main47276-30040i200709
47287LABEL, BRAKE FLUID INFORMATION
main47287-20010i200602-200709
47299STRAINER, BRAKE MASTER CYLINDER RESERVOIR
main47299-20060i200709
main47299-30190i200709
47312GTUBE, BRAKE STROKE SIMULATOR
main44255-30080i200602-200709
main44255-30090i200602-200709
main44255-30110i200709-201112
main44255-30120i200709-201112
9014940021
9017908204
91621J0612
9412041000
9415180800

22 parts on this diagram · 2 diagrams in section

BRAKE MASTER CYLINDER — Toyota Parts Diagram with OEM Numbers & Prices | EPC Data