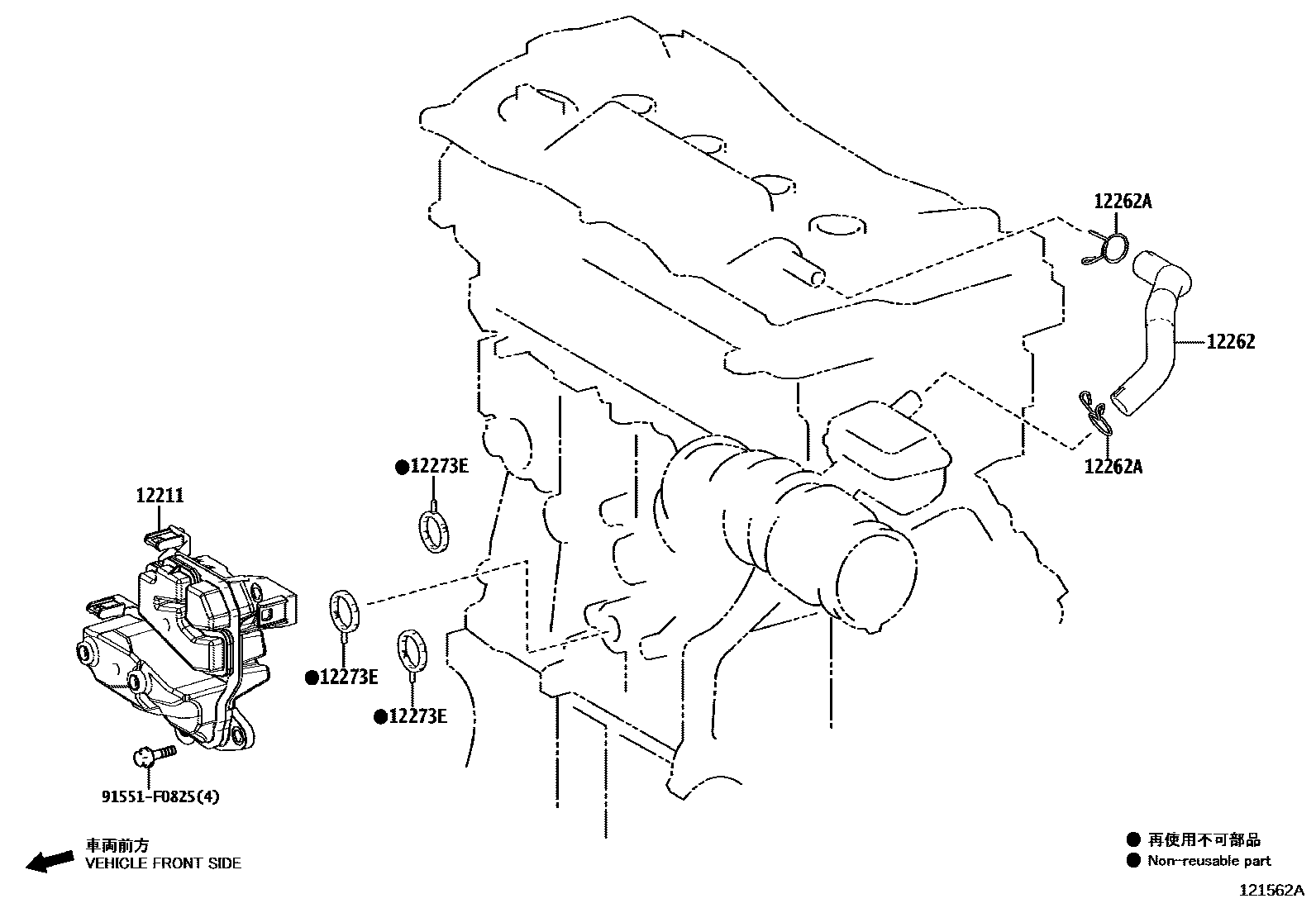
VENTILATION HOSE

12211CASE, VENTILATION, NO.1
12262HOSE, VENTILATION, NO.2
12262ACLIP(FOR VENTILATION HOSE NO.2)
12273EGASKET(FOR VENTILATION CASE)
91551F0825
main91551-F0825
5 parts on this diagram · 3 diagrams in section

5 parts on this diagram · 3 diagrams in section