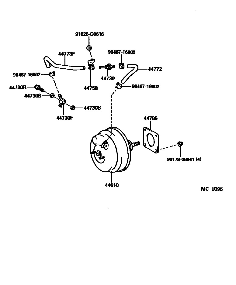
BRAKE BOOSTER & VACUUM TUBE

44610BOOSTER ASSY, BRAKE
44730VALVE ASSY, VACUUM CHECK(FOR BRAKE)
44730FUNION, VACUUM HOSE(FOR MANIFOLD SIDE)
44730RBOLT, UNION(FOR VACUUM HOSE UNION)
44730SGASKET(FOR VACUUM HOSE UNION)
44758BRACKET, VACUUM CHECK VALVE
44772HOSE, CHECK VALVE TO CONNECTOR TUBE
44773FHOSE, UNION TO CHECK VALVE
44785GASKET, BRAKE BOOSTER
9017908041
main90179-08041
9046716002
main90467-16002
91626G0616
main91626-G0616
12 parts on this diagram · 3 diagrams in section