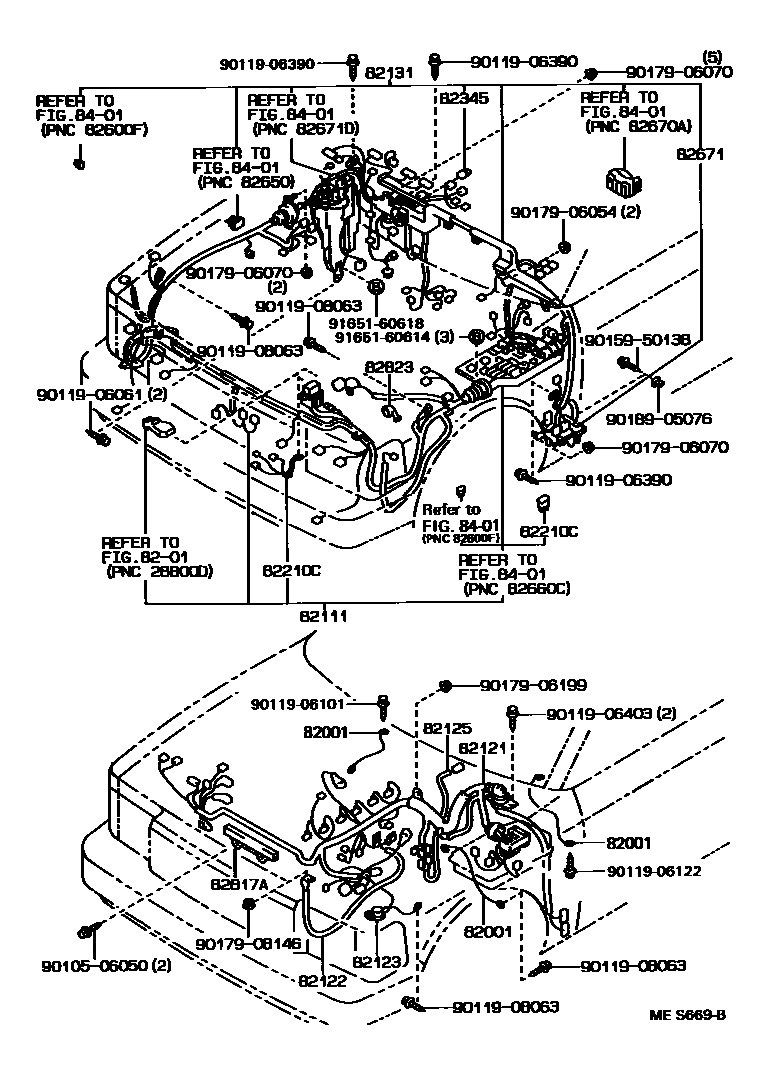
WIRING & CLAMP

82001CABLE, BOND, NO.1
E/G-DASH
IGNITER
E/G-BODY
E/G-DASH
T/M-FRAME
T/M-FLOOR; T/M-FROOL
IGNITER
ALT
E/G-DASH
8201BATTERY & BATTERY CABLE
82111WIRE, ENGINE ROOM MAIN
W(*66)
W(*66 & *80)
W(*66)
W(*66)
W(*66)
W(*66)
HOT AREA SPEC
HOT AREA SPEC
HOT AREA SPEC
W(BATTERY=140E41L)
W(BATTERY=140E41L)
W(BATTERY=140E41L)
82121WIRE, ENGINE
SINGAPORE SPEC OR HONG KONG SPEC OR THAILAND SPEC OR HOT AREA SPEC
W(TRACTION CONTROL)
W(TRACTION CONTROL)
SINGAPORE SPEC OR HONG KONG SPEC OR THAILAND SPEC OR HOT AREA SPEC
SINGAPORE SPEC OR HONG KONG SPEC OR THAILAND SPEC OR HOT AREA SPEC
SINGAPORE SPEC OR HONG KONG SPEC OR THAILAND SPEC OR HOT AREA SPEC
82122WIRE, ENGINE, NO.2
BATTERY(140E41L)
82123WIRE, ENGINE, NO.3
BATTERY(55D23L-MF OR 75D31L-MF OR 34B19L)
82125WIRE, TRANSMISSION
82131WIRE, COWL
HONG KONG SPEC
SINGAPORE SPEC OR HONG KONG SPEC
SINGAPORE SPEC OR HONG KONG SPEC OR THAILAND SPEC OR HOT AREA SPEC
SINGAPORE SPEC OR HONG KONG SPEC OR THAILAND SPEC OR HOT AREA SPEC
W(*TRC) OR W(ELECTRIC RETRACTABLE MIRROR)
W(ELECTRO MULTIVISION)
W(*80)
82210CFUSIBLE LINK
L=110,1.0Y
30A,TERM.:FEMALE,PNK
40A,TERM.:FEMALE,GRN,W(*66)
60A,TERM.:MALE,YEL,W(*66)
80A,TERM.:MALE,BLK
30A,TERM.:MALE,PNK
50A,TERM.:FEMALE,RED
100A,TERM.:MALE,BLUE
40A,TERM.:MALE,GRN
100A,TERM.:MALE,BLUE
82345DIODE
NO.1
NO.3
W(*80 & ELECTRO MAUTIVISION),NO.2; W(ELECTRO MAULTIVISION),NO.2
82671BLOCK, JUNCTION
HONG KONG SPEC
82817APROTECTOR, WIRING HARNESS, NO.2
82823CAP, TERMINAL, NO.1
8401SWITCH & RELAY & COMPUTER
9010506050
main90105-06050
9011906061
main90119-06061
9011906101
main90119-06101
9011906122
main90119-06122
9011906390
main90119-06390
9011906403
main90119-06403
9011908063
main90119-08063
9015950138
main90159-50138
9017906054
main90179-06054
9017906070
main90179-06070
9017906199
main90179-06199
9017908146
main90179-08146
9018905076
main90189-05076
9165160614
main91651-60614
9165160618
main91651-60618
29 parts on this diagram · 12 diagrams in section