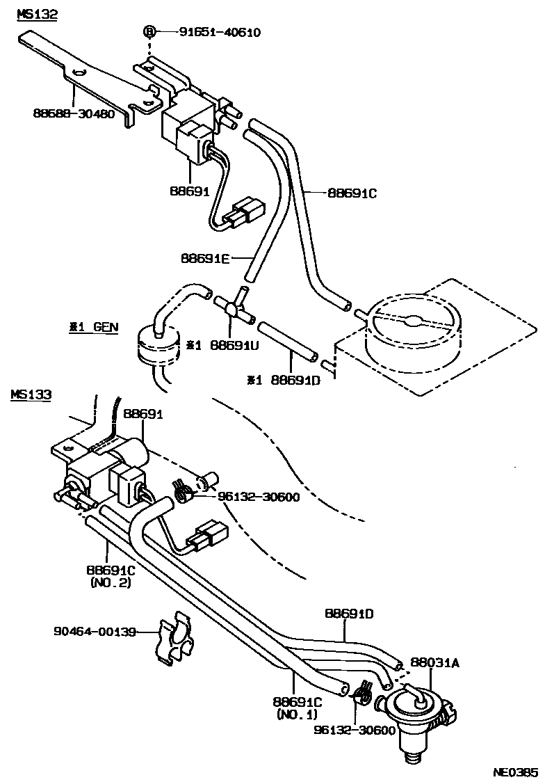
HEATING & AIR CONDITIONING - VACUUM PIPING

88031ACTUATOR SET, IDLE-UP
88031ADIAPHRAGM SUB-ASSY, IDLE-UP ACTUATOR
88691VALVE, MAGNET (FOR IDLE UP DEVICE)
88691CHOSE, VACUUM (FOR IDLE UP DEVICE), NO.1
NO.1
L=300
L=600; L=600,NO.2
88691DHOSE, VACUUM (FOR IDLE UP DIVICE), NO.2
L=300
L=600
*H,L=600,MARK=#*
88691EHOSE, VACUUM (FOR IDLE UP DIVICE), NO.3
L=300
88691UWAY(FOR VACUUM HOSE)
8868830480BRACKET, COOLER DIAPHRAGM
main88688-30480
9046400139
main90464-00139
9165140610
main91651-40610
9613230600
main96132-30600
11 parts on this diagram · 3 diagrams in section