MIRROR

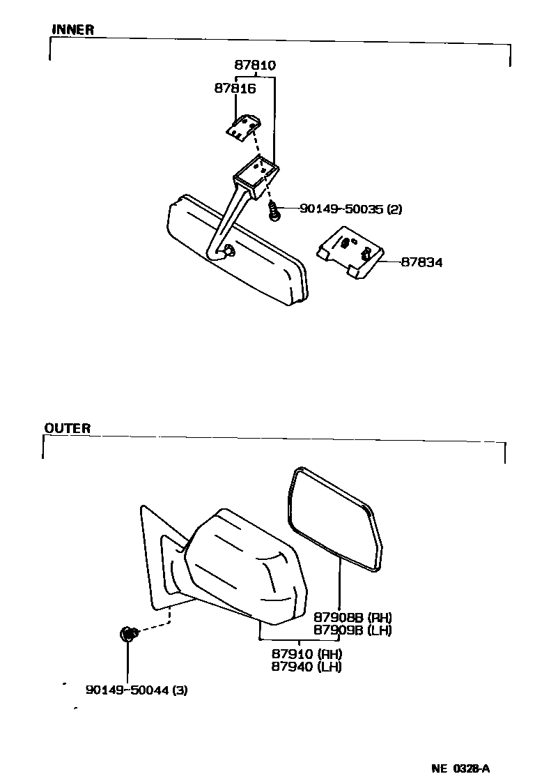
87810MIRROR ASSY, INNER REAR VIEW
BLUE,TRIM8#
main87810-30220-06iMS132..DLX,STD;GS131,LS130,MS133,YS132..(4F,4FC,5F)..(ROY,STD); MS133,135..ROY,SAL,SALEX;GS131,MS132..LHD..(ROY,SAL)198908-199110
SABLE,TRIM3#; SABLE,TRIM3#,4#
87816SPRING, INNER REAR VIEW MIRROR
87834COVER, INNER REAR VIEW MIRROR STAY HOLDER
BLUE,TRIM8#
SABLE,TRIM3#; SABLE,TRIM3#,4#
BLUE,TRIM8#
SABLE,TRIM3#; SABLE,TRIM3#,4#
BLUE,TRIM8#
SABLE,TRIM3#,4#
W(MOON ROOF),BLUE,TRIM8#
W(MOON ROOF),SABLE,TRIM3#,4#
87908BMIRROR SUB-ASSY, RH
87909BMIRROR SUB-ASSY, LH
87910MIRROR ASSY, OUTER REAR VIEW, RH
ELECTRIC REMOTO CONTROL MIRROR
RETRACT MIRROR
ELECTRIC REMOTO CONTROL MIRROR
87940MIRROR ASSY, OUTER REAR VIEW, LH
ELECTRIC REMOTO CONTROL MIRROR
RETRACT MIRROR
ELECTRIC REMOTO CONTROL MIRROR
9014950035
main90149-50035
9014950044
main90149-50044
9 parts on this diagram · 1 diagram in section