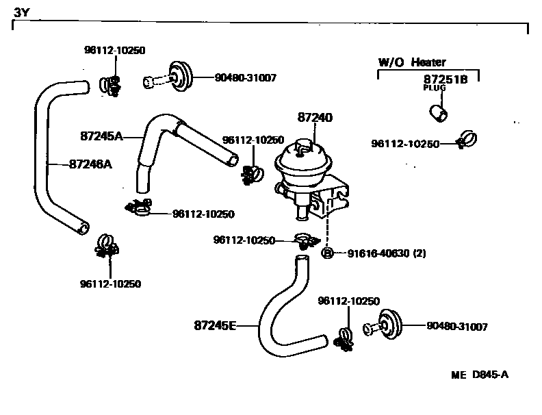
HEATING & AIR CONDITIONING - WATER PIPING

87240VALVE ASSY, HEATER WATER
87245AHOSE, HEATER WATER, INLET A
87245EHOSE, HEATER WATER, INLET E
87246AHOSE, HEATER WATER, OUTLET A
87251JOINT OR UNION, WATER HOSE THROUGH
87251BPLUG, HEATER WATER
9048031007
main90480-31007
9161640630
main91616-40630
9611210250
main96112-10250
9 parts on this diagram · 2 diagrams in section