ELECTRONIC CONTROLLED TRANSMISSION

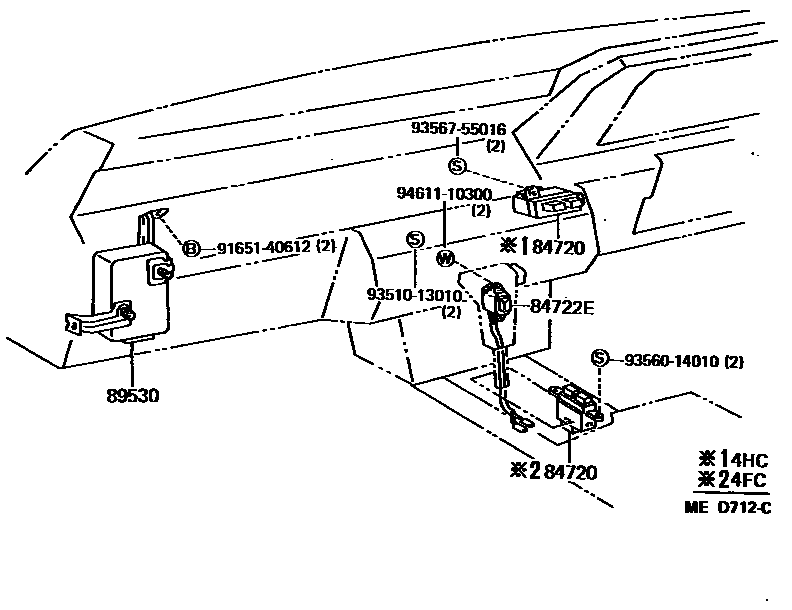
84720SWITCH ASSY, PATTERN SELECT
84722ESWITCH, TRANSMISSION CONTROL
DEEP MAROON,RED/MAROON,TRIM3#
BLUE,BLUE,TRIM8#
BEIGE,BEIGE,TRIM4#
MAROON,MAROON,TRIM3#
BROWN,BROWN,TRIM4#
89530COMPUTER ASSY, TRANSMISSION CONTROL
DENSO
AISIN
AISIN
DENSO
AISIN
AISIN
9165140612
main91651-40612
9351013010
main93510-13010
9356014010
main93560-14010
9356755016
main93567-55016
9461110300
main94611-10300
8 parts on this diagram · 2 diagrams in section