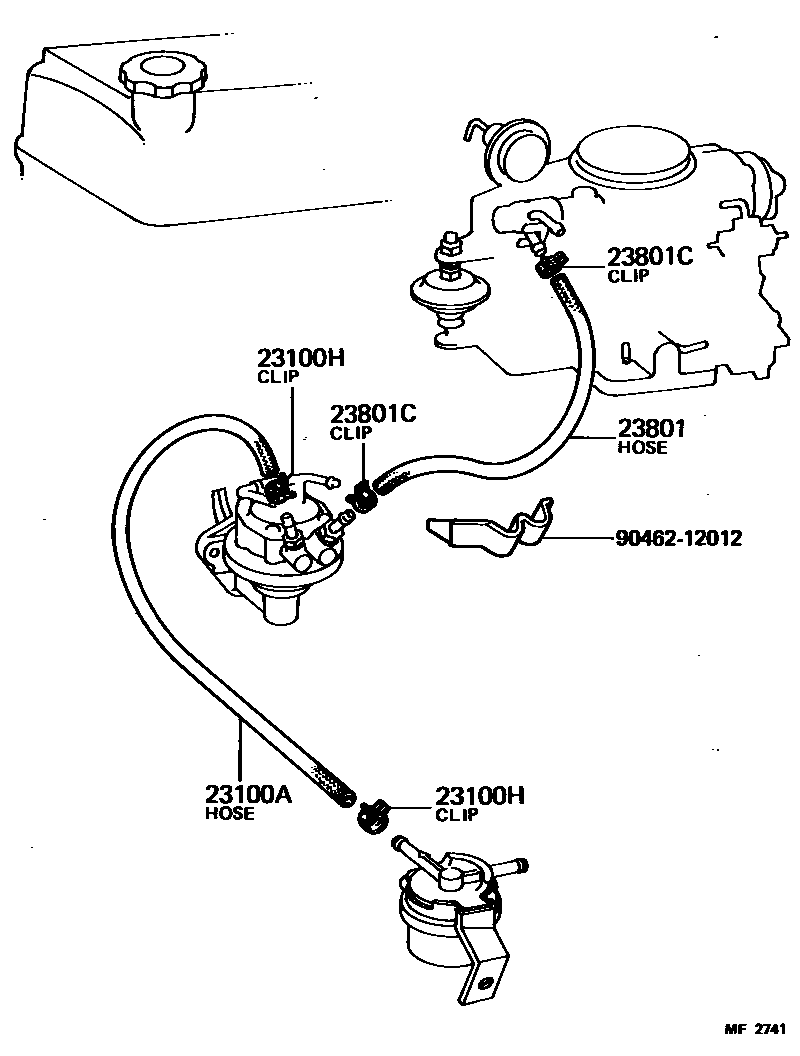
FUEL PIPE & CLAMP

23100AHOSE, FUEL
*H,L=360; *H,L=380
23100HCLIP(FOR FUEL HOSE)
23801PIPE OR HOSE SUB-ASSY, CARBURETOR FUEL, NO.1
L=400(*H,L=340)
23801CCLIP(FOR CARBURETOR FUEL HOSE)
9046212012
main90462-12012
5 parts on this diagram · 2 diagrams in section