E
EPC Data

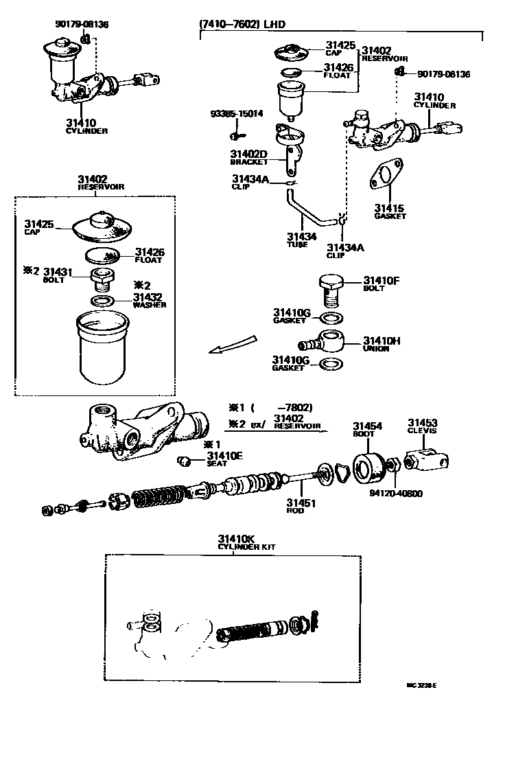
CLUTCH MASTER CYLINDER

Parts diagram
31402RESERVOIR SUB-ASSY, CLUTCH MASTER CYLINDER
main47202-11010i197410-197602
main47202-12050i197410-197602
31402DBRACKET, MASTER CYLINDER RESERVOIR(FOR CLUTCH)
main47233-30010i197410-197602
31410CYLINDER ASSY, CLUTCH MASTER
main31410-30050i197602-197908
main31410-30060i197410-197908
main31420-30040i197410-197602
31410ESEAT, UNION(FOR CLUTCH MASTER CYLINDER)
main90410-03015i197410-197802
31410FBOLT, UNION(FOR CLUTCH MASTER CYLINDER)
main90401-16078i197410-197602
31410GGASKET(FOR CLUTCH MASTER CYLINDER UNION)
main90430-16044×2i197410-197602
31410HUNION(FOR CLUTCH MASTER CYLINDER)
main90405-10125i197410-197602
31410KCYLINDER KIT, CLUTCH MASTER
main04311-20050i197410-197908
31415GASKET, CLUTCH MASTER CYLINDER
main31415-30030i197410-197908
31425CAP, CLUTCH MASTER CYLINDER RESERVOIR FILLER
main47230-12011i197410-197602
main47230-12030i197410-197602
main47230-20040i197907-197908
31426FLOAT, CLUTCH MASTER CYLINDER RESERVOIR
main31426-30011i197410-197908
31431BOLT, CLUTCH MASTER CYLINDER RESERVOIR SET
main47231-30010i197410-197602
31432WASHER, CLUTCH RESERVOIR SET BOLT
main47232-30010i197410-197602
31434TUBE, CLUTCH RESERVOIR
main31434-30040i197410-197602
31434ACLIP(FOR CLUTCH RESERVOIR TUBE)
main90467-14106×2i197410-197602
31451ROD, CLUTCH MASTER CYLINDER PUSH
main31451-12030i197410-197908
31453CLEVIS, CLUTCH MASTER CYLINDER PUSH ROD
main31453-30050i197410-197908
31454BOOT, CLUTCH MASTER CYLINDER
main31454-14010i197410-197908
9017908136
9338515014
9412040800

21 parts on this diagram · 1 diagram in section

CLUTCH MASTER CYLINDER — Toyota Parts Diagram with OEM Numbers & Prices | EPC Data