E
EPC Data

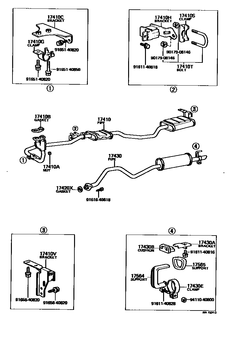
EXHAUST PIPE

Parts diagram
17410PIPE ASSY, EXHAUST, FRONT
main17410-41120i197604-197611
main17410-41200i197611-197908
main17410-44120i197410-197611
main17410-44130i197611-197908
main17410-45070i197604-197908
main17410-45100i197611-197908
17410ANUT, EXHAUST PIPE SET STUD BOLT
main90170-10114×3i197410-197908
main90179-10028×3i197811-197908
main90179-10118×3i197611-197811
17410BGASKET, EXHAUST PIPE
main17451-41020i197410-197908
main90917-06013i197611-197908
17410CBRACKET, EXHAUST PIPE FRONT (FOR FRONT)
main17571-41050i197604-197611
main17571-45020i197611-197908
main17572-44011i197410-197808
main17572-44012i197808-197908
17410GCLAMP NO.2, EXHAUST PIPE FRONT (FOR FRONT)
main17571-44013i197410-197908
17410HBRACKET, EXHAUST PIPE FRONT (FOR CENTER)
main17561-44040i197410-197908
main17572-41010×2i197410-197604
main17572-45010×2i197611-197908
17410SCLAMP NO.1, EXHAUST PIPE FRONT (FOR CENTER)
main90917-04007i197410-197908
17410TBOLT OR RING, EXHAUST PIPE FRONT (FOR CENTER)
main17565-41010×2i197611-197908
main90118-10081i197410-197908
main90301-34172×2i197410-197604
17410VBRACKET, EXHAUST PIPE FRONT (FOR REAR)
main17505-45040i197611-197908
LOWER
main17562-41060i197410-197604
main17562-41070i197501-197611
FRAME SIDE
main17563-41100i197501-197611
MUFFLER SIDE
main17574-45040i197611-197908
UPPER
17420PIPE ASSY, EXHAUST, CENTER
main17420-45080i197604-197611
main17420-45120i197611-197908
17420XGASKET, EXHAUST PIPE, CENTER
main17451-45010i197604-197908
FR
main90917-06004i197604-197908
REAR
17430PIPE ASSY, EXHAUST, TAIL
main17430-41140i197410-197604
main17430-41150i197501-197611
main17430-41160i197604-197611
main17430-44070i197611-197802
main17430-44080i197507-197611
main17430-45080i197604-197611
main17430-45090i197604-197611
main17430-45160i197611-197802
main17430-45170i197611-197908
main17430-45180i197611-197908
main17430-45190i197802-197908
main17430-45210i197611-197802
main17430-54010i197802-197908
17430ABRACKET, EXHAUST TAILPIPE(FOR FRONT)
main17506-41010i197501-197908
main17506-41020i197501-197908
main17574-41010i197410-197908
17430BCUSHION, EXHAUST TAILPIPE(FOR FRONT)
main17591-36010i197501-197611
main17591-36020i197501-197611
main17591-45010i197410-197908
17430ECLAMP NO.2, EXHAUST TAILPIPE(FOR FRONT)
main90461-23204i197410-197604
17564SUPPORT,EXHAUST PIPE, NO.4
main17564-41010i197410-197604
17565SUPPORT, EXHAUST PIPE, NO.5
main17565-41010i197410-197908
9017908146
9161140816
9161140828
9161640818
9165140820
9165140850
9165640820
9411040800

25 parts on this diagram · 12 diagrams in section

EXHAUST PIPE — Toyota Parts Diagram with OEM Numbers & Prices | EPC Data