E
EPC Data

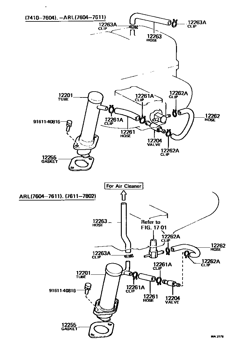
VENTILATION HOSE

Parts diagram
12201TUBE SUB-ASSY, VENTILATION
main12201-41030197410-197611
main12201-41050197802-197903
main12201-44024197410-197711
main12201-45010197604-197802
12204VALVE SUB-ASSY, VENTILATION
main12204-31020197410-197802
main12204-41010197802-197908
main12204-44021197802-197810
main12204-44022197410-197802
main12204-44023197810-197904
main12204-44024197904-197908
12255GASKET, VENTILATION
main12255-25010197410-197908
main12255-41010197410-197809
12261HOSE, VENTILATION
main12261-41060197802-197903
main12261-41070197903-197908
main90445-20004197604-197802
main90445-20144197410-197711
main90910-05023197410-197611
12261ACLIP OR CLAMP(FOR VENTILATION HOSE)
main90467-16035197802-197908
main90467-19122197704-197802
main90467-20020197410-197704
12262HOSE, VENTILATION, NO.2
main12261-44010197410-197502
main12261-44011197502-197611
main12261-45010197604-197802
main90445-14013197711-197908
main90445-16004197611-197711
main90445-16312197410-197611
12262ACLIP(FOR VENTILATION HOSE NO.2)
main90467-16010197410-197704
main90467-16035197704-197802
12263HOSE, VENTILATION, NO.3
main12262-41060197802-197908
main90910-05061197410-197611
main90910-05068197410-197512
main90910-05086197410-197611
main90910-05104197604-197802
main90910-05107197512-197908
12263ACLIP(FOR VENTILATION HOSE)
main90467-19122197704-197802
main90467-20002197802-197908
main90467-20020197410-197704
main90467-21026197410-197611
9161140816

11 parts on this diagram · 3 diagrams in section

VENTILATION HOSE — Toyota Parts Diagram with OEM Numbers & Prices | EPC Data