E
EPC Data

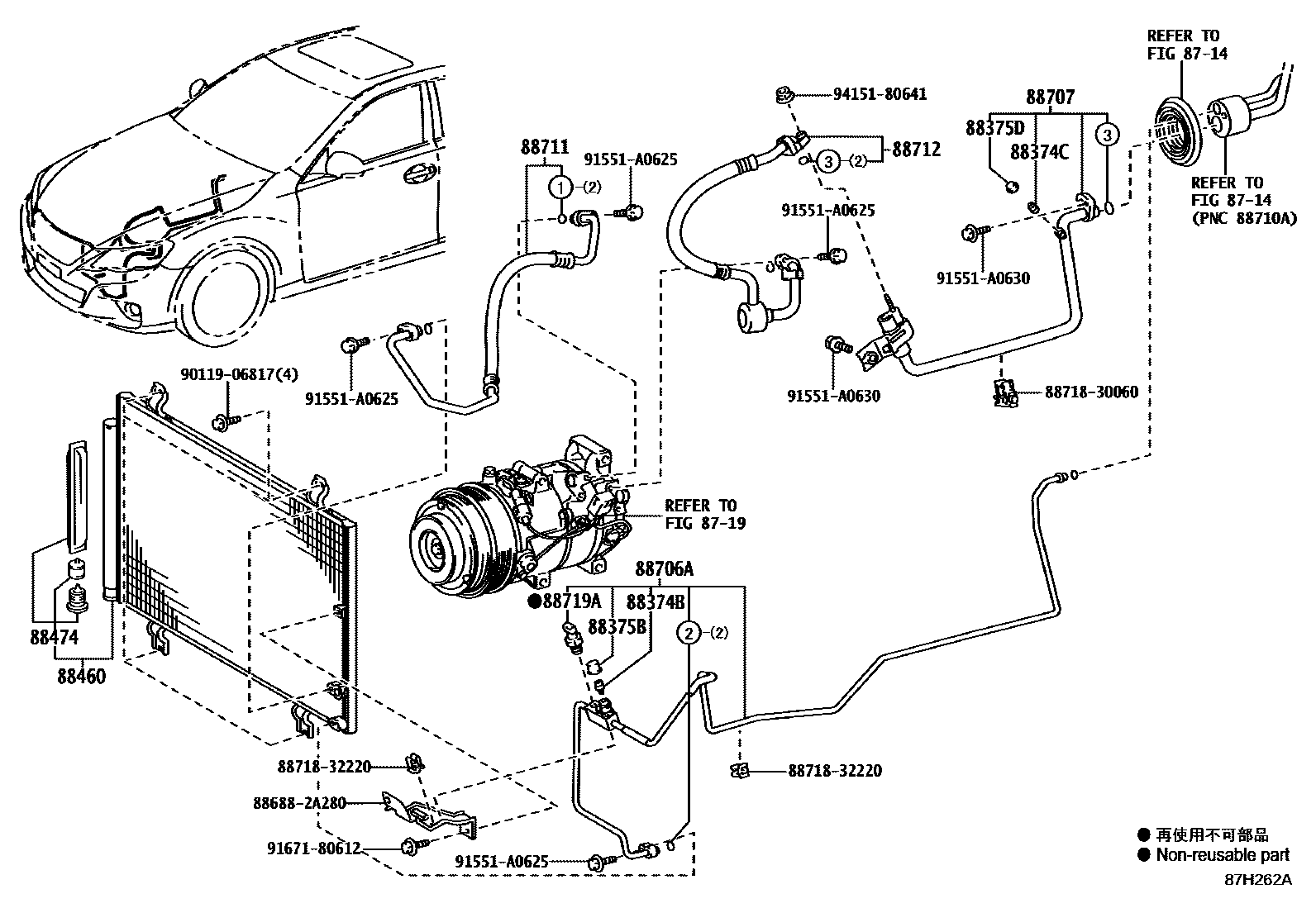
HEATING & AIR CONDITIONING - COOLER PIPING

Parts diagram
8714HEATING & AIR CONDITIONING - COOLER UNIT
8719HEATING & AIR CONDITIONING - COMPRESSOR
88374BVALVE, SERVICE, NO.1
main88374-30010i201112-201208
88374CVALVE, SERVICE, NO.2
main88374-30010i201112-201208
88375BCAP, SERVICE VALVE, NO.1
main88375-30280i201112-201208
88375DCAP, SERVICE VALVE, NO.2
main88375-30290i201112-201208
88460CONDENSER ASSY, COOLER
main88460-22630i201112-201208
88474DRYER, COOLER
main88474-17010i201112-201208
88706ATUBE SUB-ASSY, LIQUID, A
main88706-22050i201112-201208
88707PIPE SUB-ASSY, SUCTION
main88707-22060i201112-201208
88711HOSE, COOLER REFRIGERANT DISCHARGE, NO.1
main88711-2A120i201112-201208
88712HOSE, COOLER REFRIGERANT SUCTION, NO.1
main88712-30160i201112-201208
88719ASENSOR, AIR CONDITIONER PRESSURE
main88719-33020i201112-201208
886882A280BRACKET, COOLER DIAPHRAGM
8871830060PIPE, COOLER REFRIGERANT SUCTION, NO.2
8871832220PIPE, COOLER REFRIGERANT SUCTION, NO.2
9011906817
91551A0625
91551A0630
9167180612
9415180641

21 parts on this diagram · 2 diagrams in section

HEATING & AIR CONDITIONING - COOLER PIPING — Toyota Parts Diagram with OEM Numbers & Prices | EPC Data