E
EPC Data

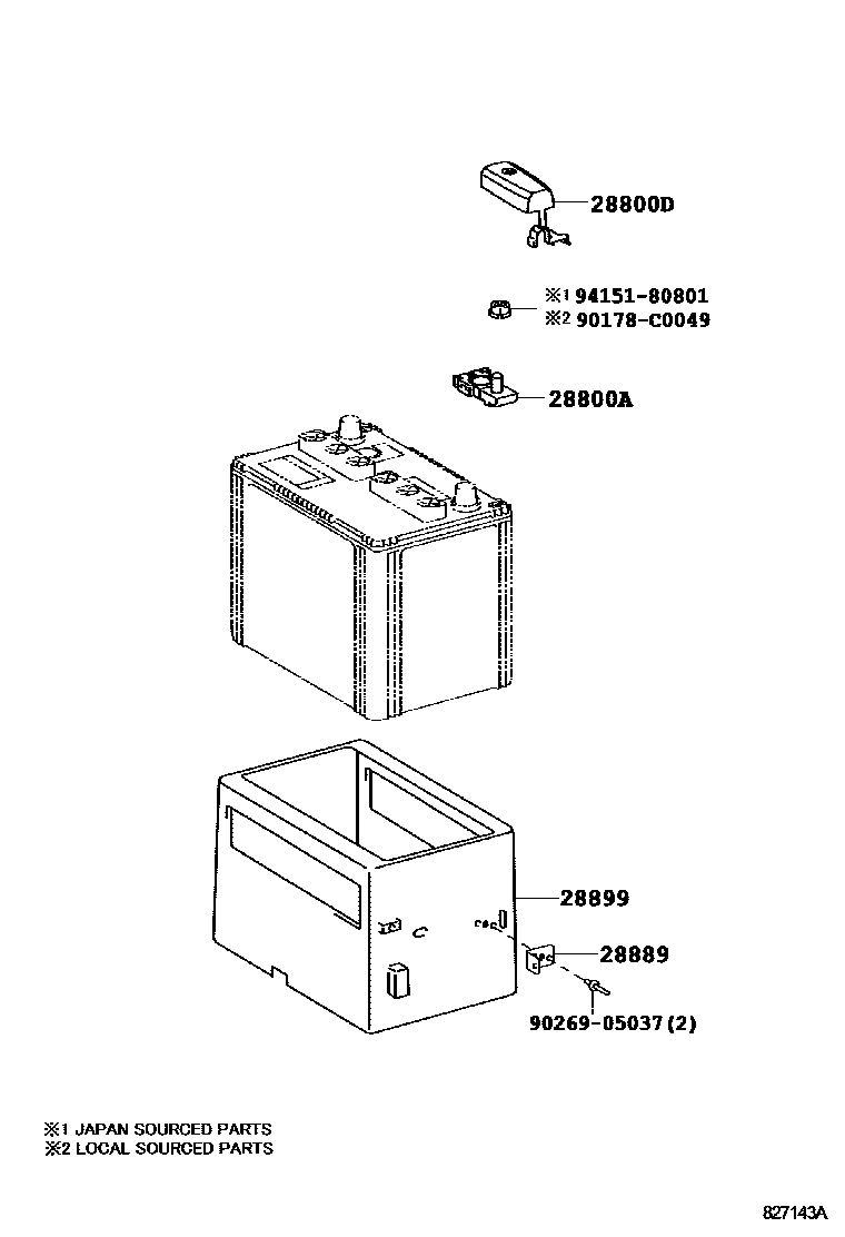
BATTERY & BATTERY CABLE

Parts diagram
28800ATERMINAL, BATTERY POSITIVE
main90982-05062i201009-201309
28800DCOVER, CONNECTOR(FOR BATTERY TERMINAL)
main82821-50470i201009-201309
28889BRACKET, BATTERY WIRE CLAMP
main28889-31010i201009-201309
28899INSULATOR, BATTERY
main28899-0P010i201009-201309
90178C0049
9026905037
9415180801

7 parts on this diagram · 1 diagram in section

BATTERY & BATTERY CABLE — Toyota Parts Diagram with OEM Numbers & Prices | EPC Data