E
EPC Data

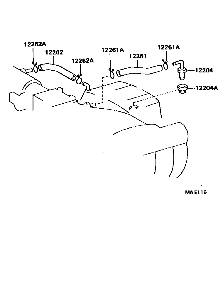
VENTILATION HOSE

Parts diagram
12204VALVE SUB-ASSY, VENTILATION
main12204-46020i199305-199601
main12204-46030i199305-199605
12204AGROMMET(FOR VENTILATION SYSTEM)
main90480-18001i199305-199605
12261HOSE, VENTILATION
main12261-46010i199305-199408
main12261-46020i199305-199512
main12261-46021i199512-199605
main12261-46030i199305-199601
12261ACLIP OR CLAMP(FOR VENTILATION HOSE)
main90467-14001×2i199305-199605
main90467-14037×2i199305-199601
12262HOSE, VENTILATION, NO.2
main12262-46010i199305-199605
main12262-46020i199305-199601
12262ACLIP(FOR VENTILATION HOSE NO.2)
main90467-17011×2i199305-199601
main90467-18003×2i199305-199605

6 parts on this diagram · 2 diagrams in section

VENTILATION HOSE — Toyota Parts Diagram with OEM Numbers & Prices | EPC Data