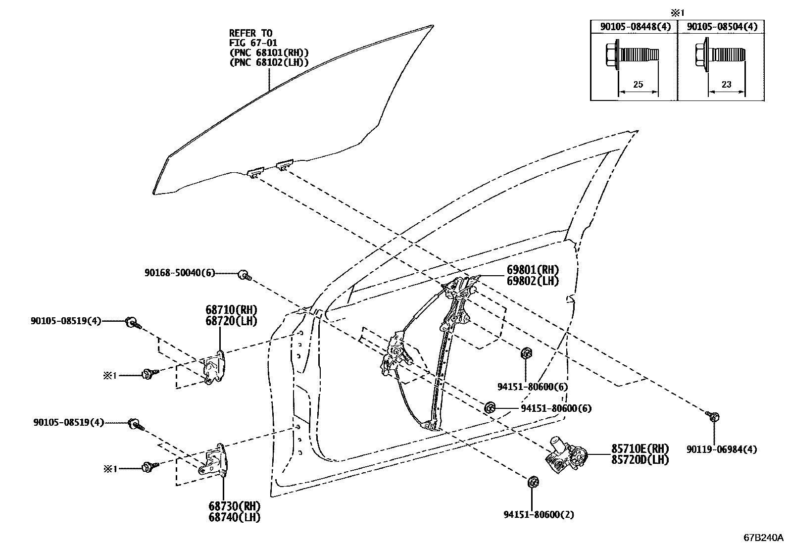
FRONT DOOR WINDOW REGULATOR & HINGE

6701FRONT DOOR PANEL & GLASS
68710HINGE ASSY, FRONT DOOR, UPPER RH
68720HINGE ASSY, FRONT DOOR, UPPER LH
68730HINGE ASSY, FRONT DOOR, LOWER RH
68740HINGE ASSY, FRONT DOOR, LOWER LH
69801REGULATOR SUB-ASSY, FRONT DOOR WINDOW, RH
69802REGULATOR SUB-ASSY, FRONT DOOR WINDOW, LH
85710EMOTOR ASSY, POWER WINDOW REGULATOR, RH
85720DMOTOR ASSY, POWER WINDOW REGULATOR, LH
9010508448
main90105-08448
9010508504
main90105-08504
9010508519
main90105-08519
9011906984
main90119-06984
9016850040
main90168-50040
9415180600
main94151-80600
15 parts on this diagram · 1 diagram in section