E
EPC Data
Pricing
Sign In
Home
›
GR
›
287320
›
STANDARD TOOL
STANDARD TOOL
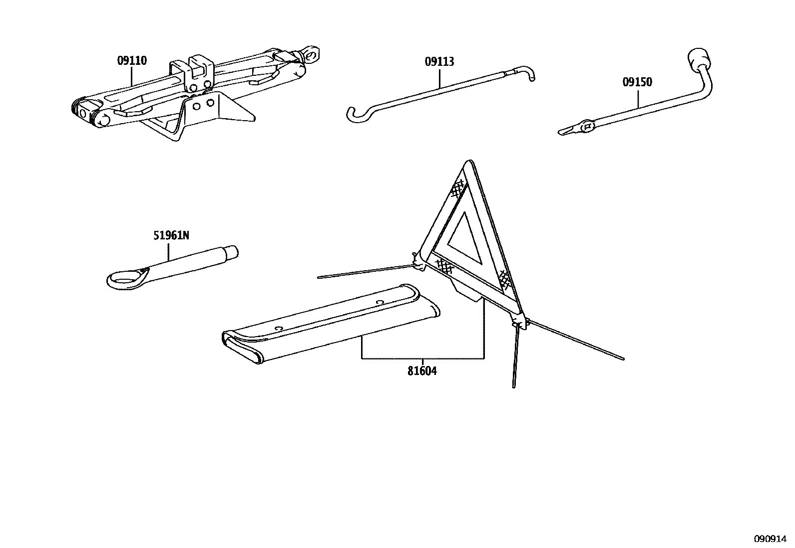
09110
JACK ASSY
main
09111-33050
i
ASV7#,AXVA70,AXVH71
201810-202109
main
09111-33051
i
AXVH71..IND
202110-202112
09113
HANDLE, JACK
main
09113-02090
i
AXVA70,AXVH71..RHD..(25,25G,HBD,HBDG,HBDV)..(IND,TH)
202006-202112
(L)
main
09113-42030
i
AXVA70,AXVH71,MXVA71
202111
(J)
09150
WRENCH, HUB NUT BOX
main
09150-42010
i
ASV7#,AXVH71..(20,20G,25G,25Q,25V,HBD)..(IDN,MA,PH,TH,VN)
201810-202110
51961N
HOOK, TRANSPORT
main
51961-06040
i
ASV7#,AXVH71..(20,20G,25G,25Q,25V,HBD)..(IDN,MA,PH,TH,VN)
201810-202110
81604
REFLECTOR SET, TRIANGLE
main
81604-02020
i
AXVH71..IND
201812-202112
5 parts on this diagram · 1 diagram in section
STANDARD TOOL — Toyota Parts Diagram with OEM Numbers & Prices | EPC Data