E
EPC Data

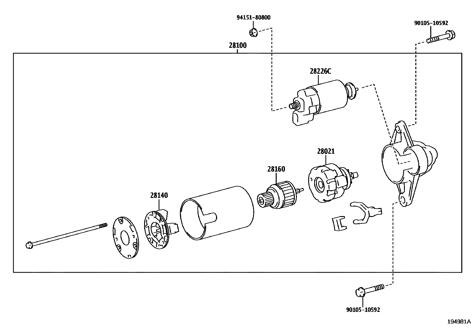
STARTER

Parts diagram
28021CLUTCH SUB-ASSY, STARTER CENTER BEARING
main28021-24120i202102
main28021-25050i201712-201910
main28021-K0040i201910-202101
28100STARTER ASSY
main28100-24120i202102
12V 1.2KW
main28100-25050i201712-201910
12V 1.3KW
main28100-31240i201712-202101
12V 1.8KW
main28100-36180i201709-202101
12V 1.8KW
main28100-K0050i202102
12V 1.2KW
28140HOLDER ASSY, STARTER BRUSH
main28140-21070i201910-202101
main28140-25050i201712-201910
main28140-31240i202102
28160ARMATURE ASSY, STARTER
main28160-21080i202102
main28160-31240i201807-201910
main28160-36190i202104
main28160-36210i202102-202104
28226CSTARTER KIT, REPAIR SERVICE, NO.2
main28226-24120i202102
main28226-25050i201712-201910
main28226-31240i202102
main28226-36180i201709-202101
main28226-K0040i201910-202101
9010510592
9415180800

7 parts on this diagram · 3 diagrams in section

STARTER — Toyota Parts Diagram with OEM Numbers & Prices | EPC Data