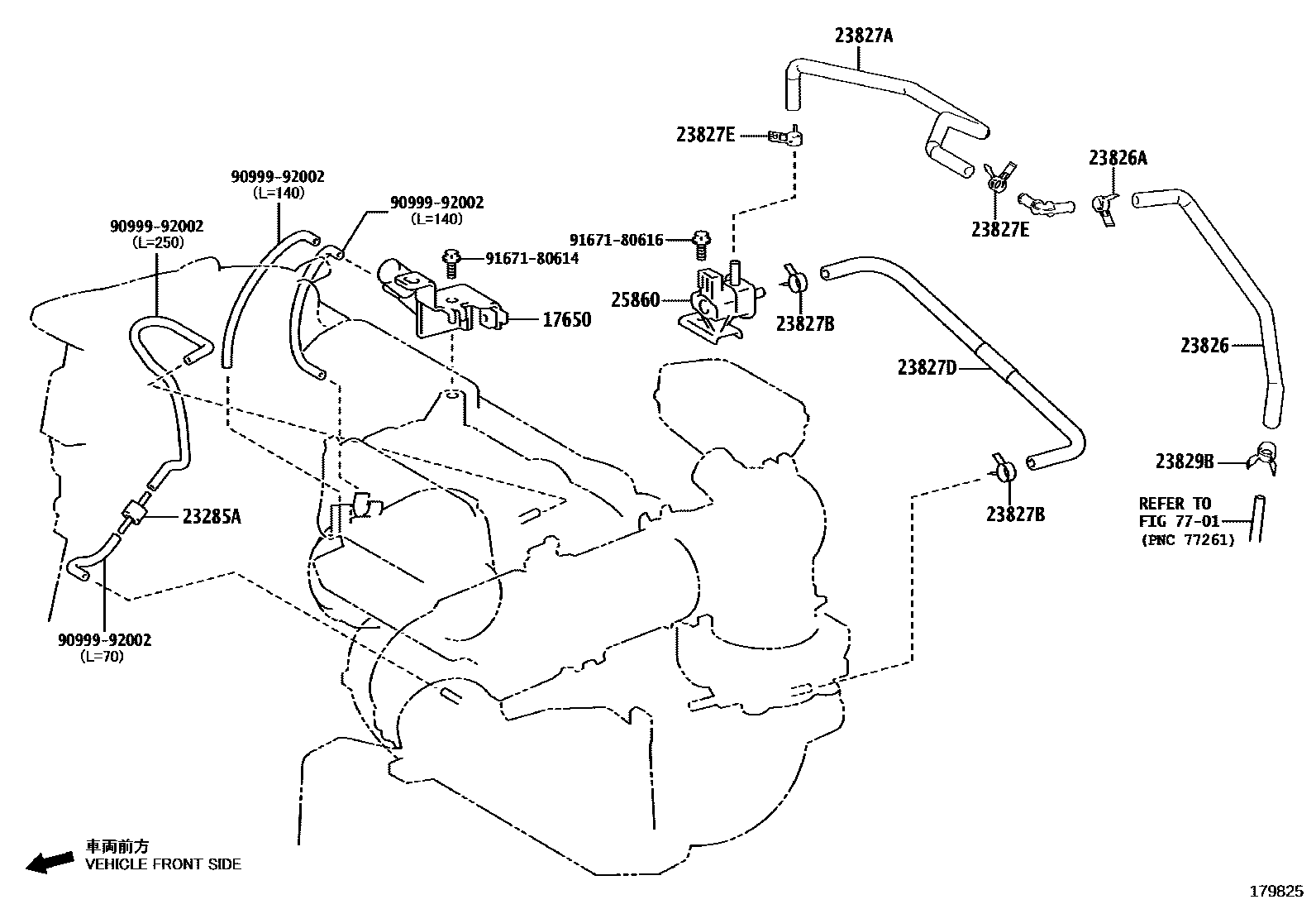
VACUUM PIPING

17650VALVE ASSY, VACUUM SWITCHING
23285AVALVE, CHECK, NO.1
23826HOSE, FUEL VAPOR FEED, NO.1
23826ACLIP(FOR FUEL VAPOR FEED HOSE, NO.1)
23827AHOSE, FUEL VAPOR FEED, NO.2
23827BCLIP(FOR FUEL VAPOR FEED HOSE, NO.2)
23827DHOSE, FUEL VAPOR FEED, NO.2
23827ECLIP(FOR FUEL VAPOR FEED HOSE, NO.2)
23829BCLIP(FOR FUEL VAPOR FEED HOSE)
25860VALVE ASSY, VACUUM SWITCHING, NO.1
NO.2
NO.1
7701FUEL TANK & TUBE
9099992002
main90999-92002
9167180614
main91671-80614
9167180616
main91671-80616
14 parts on this diagram · 6 diagrams in section