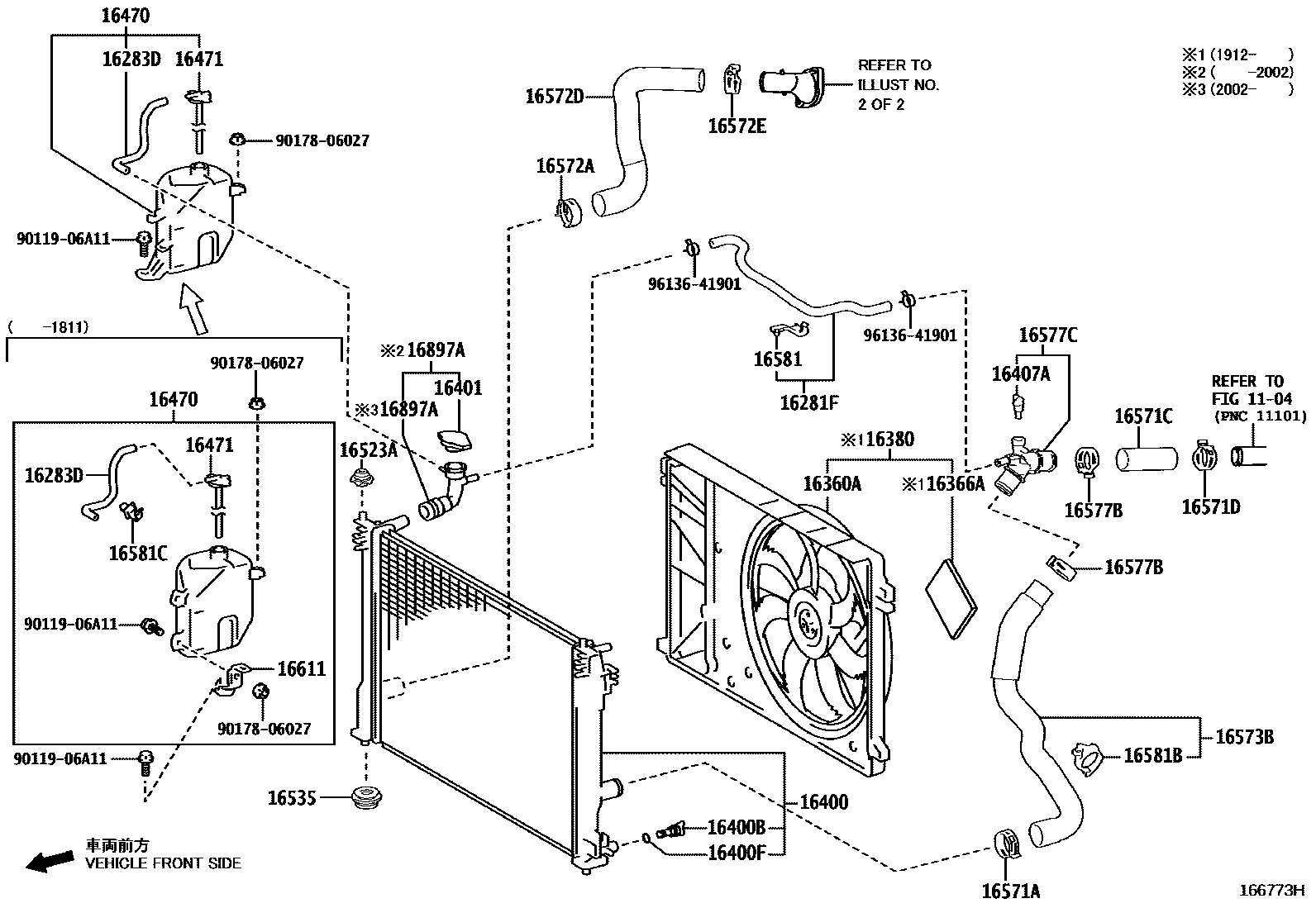
RADIATOR & WATER OUTLET

1104CYLINDER HEAD
16281HOSE, WATER BY-PASS, NO.4
16281FHOSE, WATER BY-PASS, NO.5
16283HOSE, WATER BY-PASS, NO.6
16283DHOSE, WATER BY-PASS, NO.6
NO.2
NO.2
NO.1
16360AFAN ASSY, W/MOTOR
16366AINSULATOR, COOLING FAN MOTOR
16380BRACKET ASSY, FAN
16400RADIATOR ASSY
MARK 2513
MARK 2519
16400BPLUG, RADIATOR DRAIN COCK
16400FPACKING(FOR RADIATOR DRAIN COCK)
16401CAP SUB-ASSY, RADIATOR
16407ACOCK SUB-ASSY, RADIATOR DRAIN
16470TANK ASSY, RADIATOR RESERVE
16471CAP SUB-ASSY, RESERVE TANK
16523ACUSHION, RADIATOR SUPPORT
16535SUPPORT, RADIATOR, LOWER
16571ACLAMP OR CLIP, HOSE(FOR RADIATOR INLET)
16571CHOSE, RADIATOR, NO.1
LE PACKAGE(KOREA SPEC)
16571DCLIP, RADIATOR HOSE, NO.1
16572ACLAMP OR CLIP, HOSE(FOR RADIATOR OUTLET NO.1)
16572DHOSE, RADIATOR, NO.2
16572ECLIP, RADIATOR HOSE, NO.2
NO.1:REFER ILLUST.
NO.2:REFER ILLUST.
16573BHOSE, RADIATOR, NO.3
LE PACKAGE(KOREA SPEC)
16577BCLAMP OR CLIP, HOSE(FOR RADIATOR PIPE)
16577CPIPE, RADIATOR
LE PACKAGE(KOREA SPEC)
16581CLAMP, HOSE(FOR WATER HOSE)
16581BCLAMP, HOSE(FOR RADIATOR HOSE)
NO.1:REFER ILLUST.
NO.2:REFER ILLUST.
NO.2:REFER ILLUST.
16581CCLAMP, HOSE(FOR RADIATOR HOSE NO.2)
16611BRACKET, RADIATOR RESERVE TANK
16897ANECK, FILLER
9011906A11
main90119-06A11
9017806027
main90178-06027
9613641901
main96136-41901
34 parts on this diagram · 15 diagrams in section