E
EPC Data

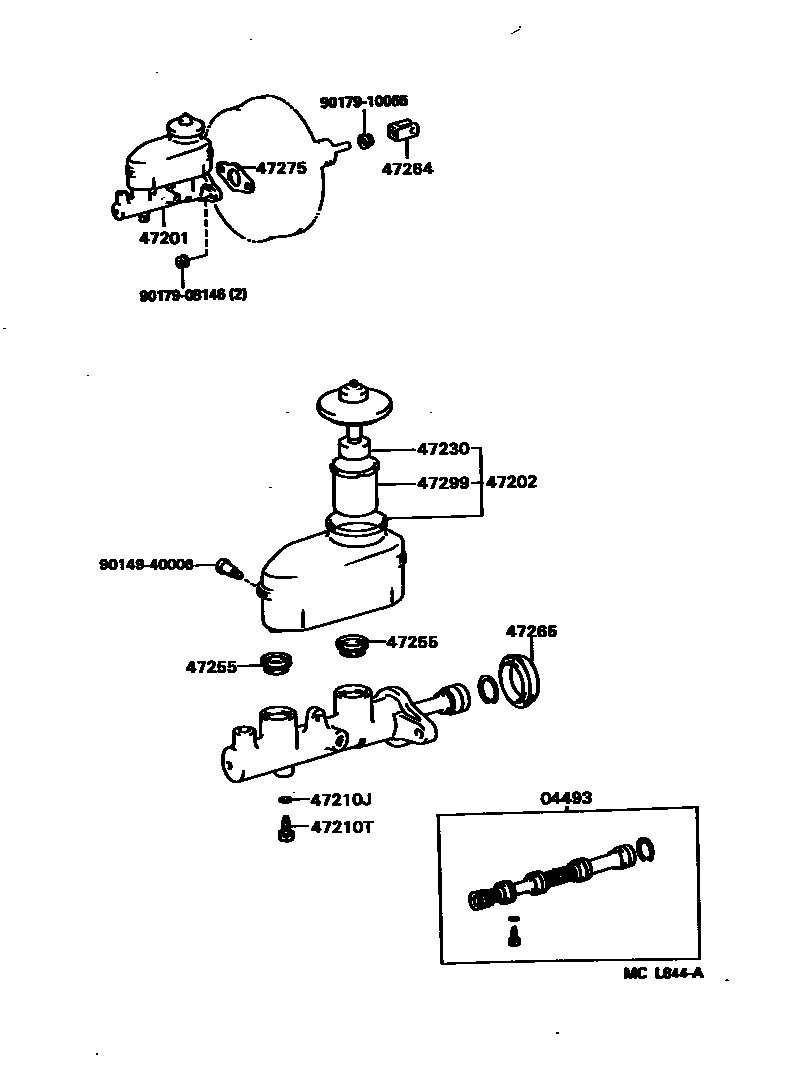
BRAKE MASTER CYLINDER

Parts diagram
04493CYLINDER KIT, BRAKE MASTER
main04493-33010i199203-199408
main04493-33020i199203-199408
W(*66)
main04493-33060i199408-199608
47201CYLINDER SUB-ASSY, BRAKE MASTER
main47201-33030i199203-199408
main47201-33040i199203-199408
W(*66)
main47201-33130i199408-199608
47202RESERVOIR SUB-ASSY, BRAKE MASTER CYLINDER
main47220-33011i199203-199608
47210JGASKET(FOR MASTER CYLINDER)
main90430-06104i199203-199608
47210TBOLT(FOR BRAKE MASTER CYLINDER)
main90109-06077i199203-199608
47230CAP ASSY, BRAKE MASTER CYLINDER RESERVOIR FILLER
main47230-12040i199203-199408
main47230-20140i199408-199608
47255GROMMET, MASTER CYLINDER RESERVOIR
main47255-16010i199203-199608
47264CLEVIS, MASTER CYLINDER PUSH ROD
main47264-16020i199203-199311
main47264-33010i199311-199608
47265BOOT, MASTER CYLINDER
main47265-20050i199203-199408
47275GASKET, BRAKE MASTER CYLINDER
main47275-12020i199408-199608
main47275-32010i199203-199408
47299STRAINER, BRAKE MASTER CYLINDER RESERVOIR
main47299-24010i199203-199608
9014940006
9017908146
9017910065

14 parts on this diagram · 1 diagram in section

BRAKE MASTER CYLINDER — Toyota Parts Diagram with OEM Numbers & Prices | EPC Data