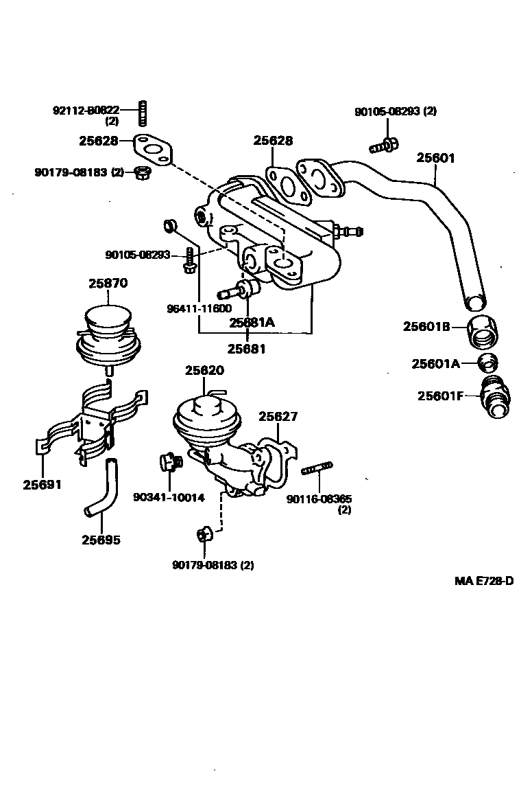
EXHAUST GAS RECIRCULATION SYSTEM

25601PIPE SUB-ASSY, EGR, NO.1
25601ASLEEVE, BALL, EGR PIPE, NO.1
25601BNUT, UNION, EGR PIPE, NO.1
25601FUNION(FOR EGR PIPE, NO.1)
25620VALVE ASSY, EGR
25627GASKET, EGR VALVE
25628GASKET, EGR INLET
25681COOLER, EGR, NO.1
25681AUNION( FOR EGR COOLER)
25691BRACKET, EGR VACUUM MODULATOR
25695HOSE, EGR VACUUM MODULATOR
25870VALVE ASSY, EGR VACUUM MODULATOR
9010508293
main90105-08293
9011608365
main90116-08365
9017908183
main90179-08183
9034110014
main90341-10014
92112B0822
main92112-B0822
9641111600
main96411-11600
18 parts on this diagram · 1 diagram in section