E
EPC Data

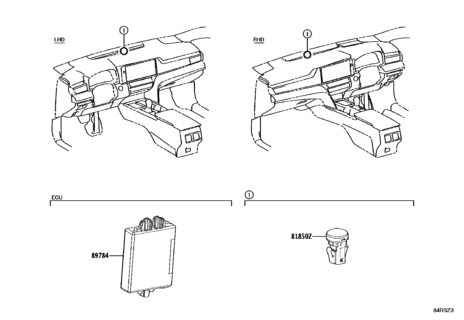
ANTI-THEFT DEVICE

Parts diagram
81850ZLAMP ASSY, THEFT WARNING INDICATOR
main81850-55200i202406
89784COMPUTER, IMMOBILIZER CODE
main89784-48060i202406

2 parts on this diagram · 1 diagram in section

ANTI-THEFT DEVICE — Toyota Parts Diagram with OEM Numbers & Prices | EPC Data