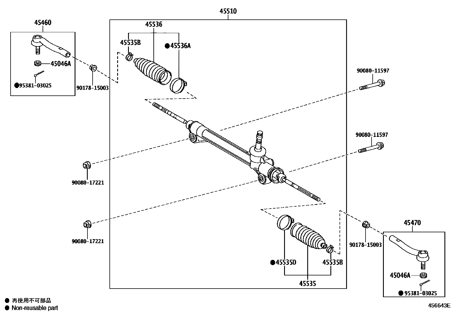
FRONT STEERING GEAR & LINK

45046ANUT, CASTLE(FOR TIE ROD END)
45460ROD ASSY, TIE, RH
45470ROD ASSY, TIE, LH
45510GEAR ASSY, STEERING
45535BOOT, STEERING RACK, NO.1
45535BCLIP(FOR STEERING RACK BOOT)
45535DCLAMP(FOR STEERING RACK BOOT NO.1)
45536BOOT, STEERING RACK, NO.2
45536ACLAMP(FOR STEERING RACK BOOT NO.2)
9008011597
main90080-11597
9008017221
main90080-17221
9017815003
main90178-15003
9538103025
main95381-03025
13 parts on this diagram · 1 diagram in section