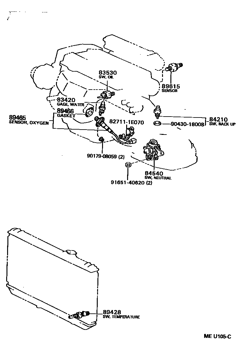
SWITCH & RELAY & COMPUTER

83420GAGE ASSY, WATER TEMPERATURE SENDER
YAZAKI
YAZAKI
83530SWITCH ASSY, OIL PRESSURE (FOR ENGINE)
YAZAKI
84210SWITCH ASSY, BACK-UP LAMP
84540SWITCH ASSY, NEUTRAL START
89428SWITCH, TEMPERATURE DETECT, NO.2
89465SENSOR, OXYGEN
REAR
REAR
FRONT
REAR
FRONT
FRONT
89466GASKET, OXYGEN SENSOR
89615SENSOR, KNOCK CONTROL
MATSUSHITA
NIPPONDENSO
827111E070WIRE, FUSE TO FUSE(FOR COMBUSTION HEATER)
main82711-1E070
9017908059
main90179-08059
9043018008
main90430-18008
9165140620
main91651-40620
12 parts on this diagram · 11 diagrams in section