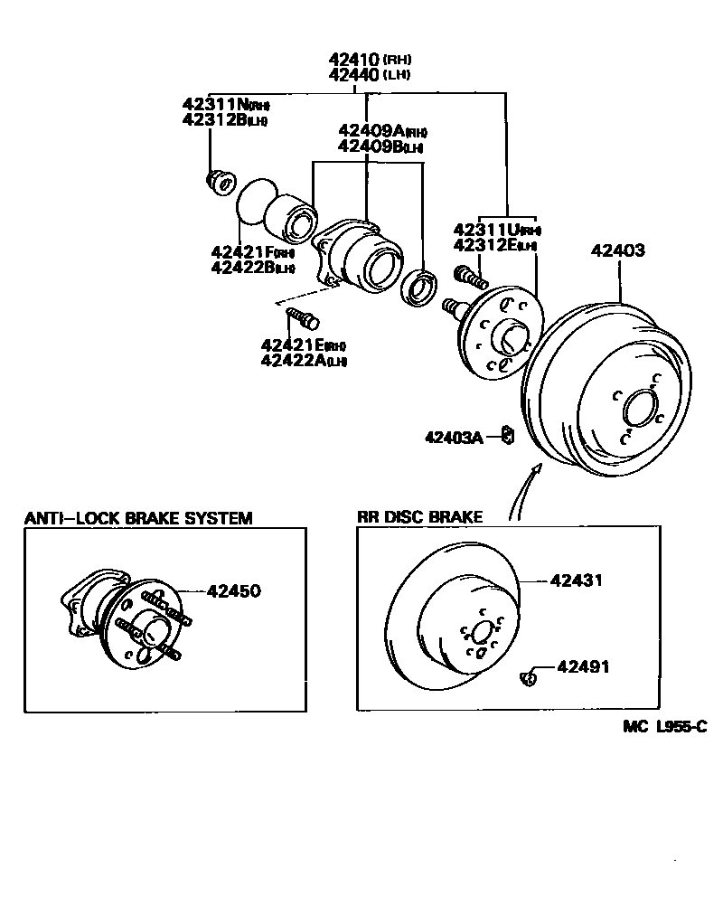
REAR AXLE SHAFT & HUB

42311NNUT(FOR REAR AXLE SHAFT RH)
42311UBOLT, HUB(FOR REAR AXLE RH)
42312BNUT(FOR REAR AXLE SHAFT LH)
42312EBOLT, HUB(FOR REAR AXLE LH)
42403DRUM SUB-ASSY, REAR BRAKE
42403APIECE, BALANCE (FOR REAR BRAKE DRUM)
10G
20G
30G
42409ABEARING SUB-ASSY, REAR AXLE, RH
42409BBEARING SUB-ASSY, REAR AXLE, LH
42410HUB & BEARING ASSY, REAR AXLE, RH
42421EBOLT (FOR REAR AXLE BEARING CASE RH)
42421FRING, O (FOR REAR AXLE BEARING CASE RH)
42422ABOLT (FOR REAR AXLE BEARING CASE LH)
42422BRING, O (FOR REAR AXLE BEARING CASE LH)
42431DISC, REAR
42440HUB & BEARING ASSY, REAR AXLE, LH
42450HUB & BEARING ASSY, REAR AXLE
42491PLUG, SHOE ADJUSTING HOLE (FOR PARKING BRAKE)
17 parts on this diagram · 1 diagram in section