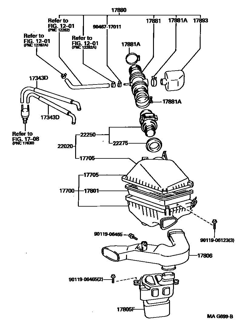
AIR CLEANER

1201
1708
17343DHOSE, AIR, NO.3
sub17343-20010
17700CLEANER ASSY, AIR
(L)
(J)
17705CAP SUB-ASSY, AIR CLEANER
(L)
(J)
17801ELEMENT SUB-ASSY, AIR CLEANER FILTER
(L)
(J)
17805FRESONATOR SUB-ASSY, INTAKE AIR
17806PIPE SUB-ASSY, AIR CLEANER, NO.2
17880HOSE ASSY, AIR CLEANER
17881HOSE, AIR CLEANER, NO.1
(L)
(J)
17881ACLAMP(FOR AIR CLEANER HOSE, NO.1)
THROTTLE BODY SIDE
AIR FLOW METER SIDE
22250METER ASSY, INTAKE AIR FLOW
22275GASKET, AIR FLOW METER
9011906123
main90119-06123
9011906465
main90119-06465
9046717011
main90467-17011
18 parts on this diagram · 3 diagrams in section