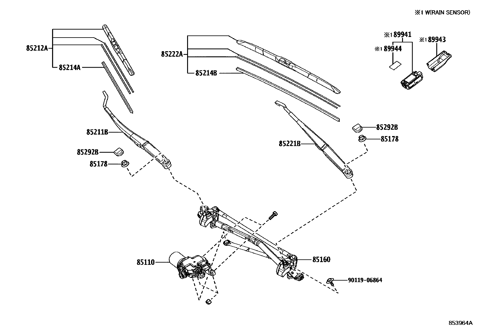
WINDSHIELD WIPER

85110MOTOR ASSY, WINDSHIELD WIPER
85160LINK ASSY, WINDSHIELD WIPER
85178NUT (FOR FRONT WIPER ARM SETTING)
85211BARM, FRONT WIPER, RH
85212ABLADE, FR WIPER, RH
85214ARUBBER, WIPER, RH
85214BRUBBER, WIPER, LH
85221BARM, FRONT WIPER, LH
85222ABLADE, FR WIPER, LH
85292BCAP, FRONT WIPER ARM HEAD
89941SENSOR, RAIN
SPECIAL PACKAGE&WINDSHIELD WIPER CONTROL-AUTO WIPER(RAIN SENSOR)
89943COVER, RAIN SENSOR
89944TAPE, RAIN SENSOR
9011906864
main90119-06864
14 parts on this diagram · 3 diagrams in section