BRAKE BAND & MULTIPLE DISC CLUTCH (ATM)

3510PLANETARY GEAR, REVERSE PISTON & COUNTER GEAR(ATM)
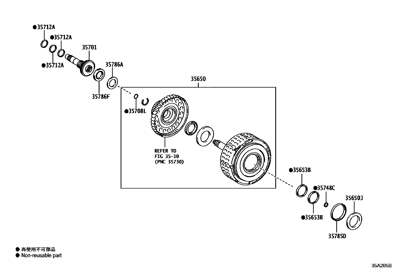
35650CLUTCH ASSY, REAR MULTIPLE DISC
35650JBEARING, THRUST NEEDLE ROLLER (FOR DIRECT DISC CLUTCH)
35653BRING, DIRECT CLUTCH DRUM OIL SEAL
AISIN AW:REFER 35-01
35701SHAFT SUB-ASSY, INPUT
35708LRING, O (FOR INTERMEDIATE SHAFT)
NO.2:REFER ILLUST.
NO.1:REFER ILLUST.
NO.1,AISIN:SEE 35-01
NO.2:REFER ILLUST.
35712ARING, INPUT SHAFT OIL SEAL
35748CRING, INTERMEDIATE SHAFT OIL SEAL
35785DRACE, THRUST BEARING, NO.4
35786ARACE, THRUST BEARING, NO.1
35786FBEARING, THRUST NEEDLE ROLLER
11 parts on this diagram · 3 diagrams in section