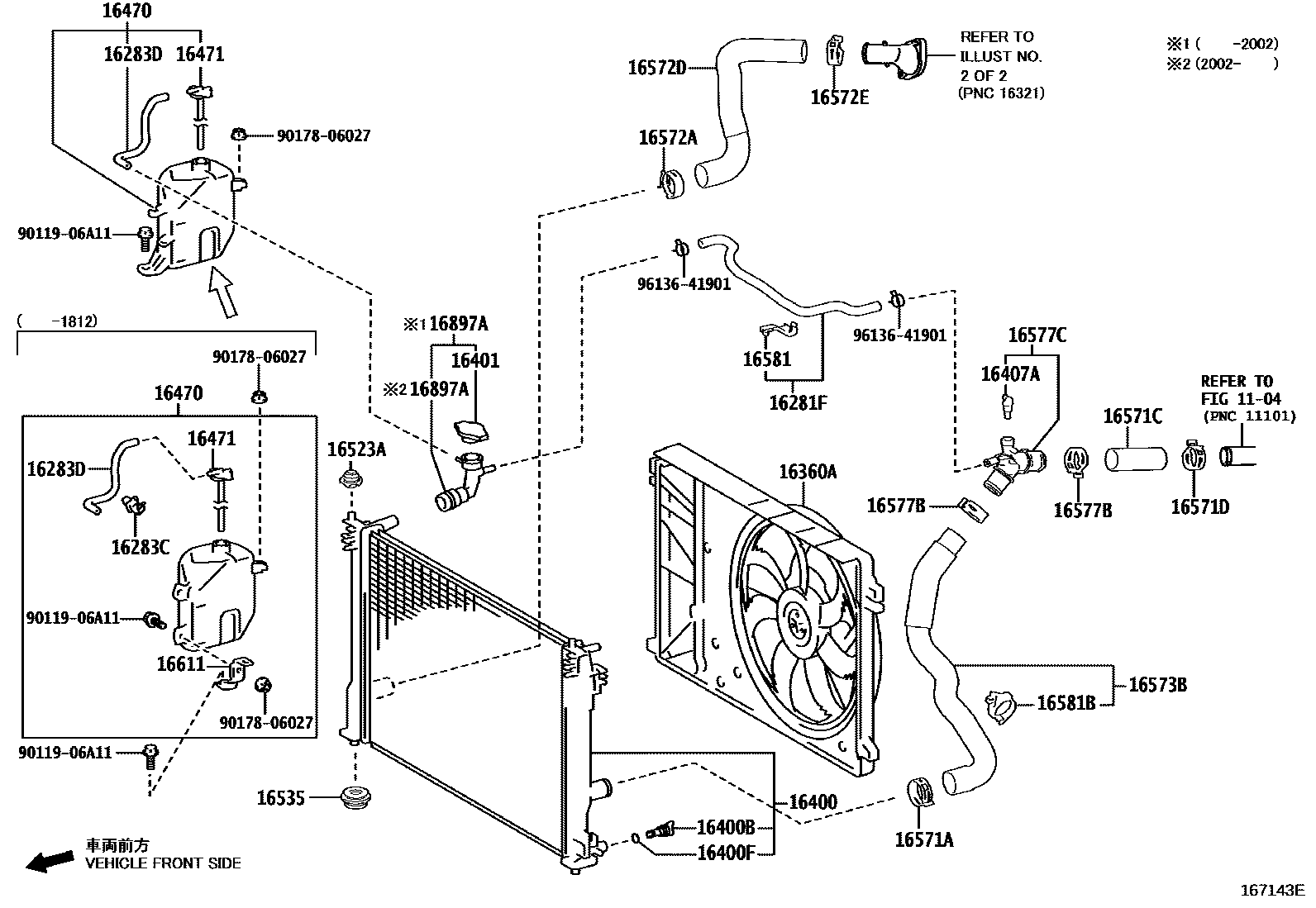
RADIATOR & WATER OUTLET

1104
16281HOSE, WATER BY-PASS, NO.4
16281FHOSE, WATER BY-PASS, NO.5
16283HOSE, WATER BY-PASS, NO.6
PERU SPEC
UKRAINE SPEC
KYRGYZ SPEC
BRAZIL SPEC
CHILE SPEC
PERU SPEC
VIETNAM SPEC
ARGENTINA SPEC
MOROCCO SPEC
EGYPT SPEC
16283CCLAMP OR CLIP(FOR WATER BY-PASS HOSE)
16283DHOSE, WATER BY-PASS, NO.6
NO.2
NO.2
NO.1
16360AFAN ASSY, W/MOTOR
16400RADIATOR ASSY
BELARUS SPEC
GEORGIA SPEC
KYRGYZ SPEC
UKRAINE SPEC
AZERBAIJAN SPEC
ARMENIA SPEC
KAZAKHSTAN SPEC
MOLDOVA SPEC
16400BPLUG, RADIATOR DRAIN COCK
16400FPACKING(FOR RADIATOR DRAIN COCK)
16401CAP SUB-ASSY, RADIATOR
16407ACOCK SUB-ASSY, RADIATOR DRAIN
16471CAP SUB-ASSY, RESERVE TANK
16523ACUSHION, RADIATOR SUPPORT
16535SUPPORT, RADIATOR, LOWER
16571ACLAMP OR CLIP, HOSE(FOR RADIATOR INLET)
16571CHOSE, RADIATOR, NO.1
16571DCLIP, RADIATOR HOSE, NO.1
16572ACLAMP OR CLIP, HOSE(FOR RADIATOR OUTLET NO.1)
16572ECLIP, RADIATOR HOSE, NO.2
NO.1:REFER ILLUST.
NO.2:REFER ILLUST.
16573BHOSE, RADIATOR, NO.3
16577BCLAMP OR CLIP, HOSE(FOR RADIATOR PIPE)
16577CPIPE, RADIATOR
16581CLAMP, HOSE(FOR WATER HOSE)
16581BCLAMP, HOSE(FOR RADIATOR HOSE)
NO.3
NO.1:REFER ILLUST.
TAIWAN SPEC,NO.1:REFER ILLUST.
NO.2:REFER ILLUST.
NO.2:REFER ILLUST.
NO.2
NO.1
16611BRACKET, RADIATOR RESERVE TANK
16897ANECK, FILLER
9011906A11
main90119-06A11
9017806027
main90178-06027
9613641901
main96136-41901
32 parts on this diagram · 18 diagrams in section