E
EPC Data

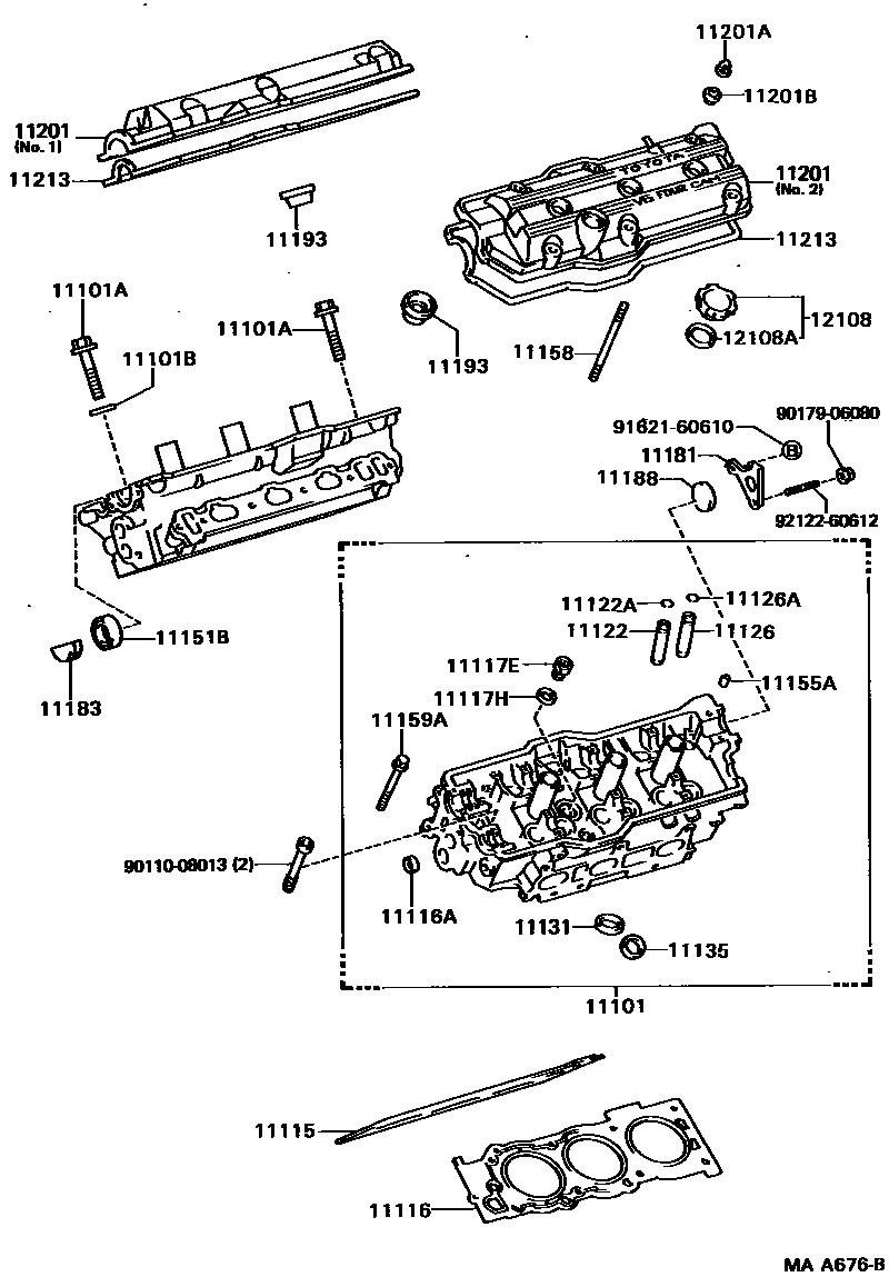
CYLINDER HEAD

Parts diagram
11101HEAD SUB-ASSY, CYLINDER
main11101-69055×2i198808-199106
11101ABOLT(FOR CYLINDER HEAD SET)
main90910-02077×16i198808-199106
11101BWASHER, PLATE(FOR CYLINDER HEAD SET)
main90201-11018×16i198808-199105
main90201-11028×16i199105-199106
11115GASKET, CYLINDER HEAD
main11115-62030i198808-199106
11116GASKET, CYLINDER HEAD, NO.2
main11116-62030i198808-199106
11116APLUG, TIGHT, NO.1
main96411-43000×8i198808-199106
11117EPLUG, W/HEAD STRAIGHT SCREW, NO.1
main90341-24009×4i198808-199106
11117HGASKET(FOR WATER HOLE)
main90430-24246×4i198808-199106
11122BUSH, INTAKE VALVE GUIDE
main11122-16020×12i198808-199106
STD
main11123-16020×12i198808-199106
O/S 0.05
11122ARING, SHAFT SNAP (FOR VALVE GUIDE BUSH)
main90520-10004×12i198808-199106
11126BUSH, EXHAUST VALVE GUIDE
main11122-16020×12i198808-199106
STD
main11123-16020×12i198808-199106
O/S 0.05
11126ARING, SHAFT SNAP(FOR VALVE GUIDE BUSH)
main90520-10004×12i198808-199106
11131SEAT, INTAKE VALVE
main11131-62020×12i198808-199106
STD
main11132-62020×12i198808-199106
O/S 0.03
11135SEAT, EXHAUST VALVE
main11135-62020×12i198808-199106
STD
main11136-62020×12i198808-199106
O/S 0.03
11151BSEAL, OIL(FOR CAMSHAFT SETTING)
main90311-38034×2i198808-199106
11155APIN, RING W/HEAD
main90253-10004×16i198808-199106
11158BOLT, STUD(FOR HEAD TO CYLINDER HEAD COVER)
main90116-06071×12i198808-199101
main90116-06128×12i199101-199106
11159ABOLT(FOR HEAD TO CAMSHAFT BEARING CAP)
main90119-07005×40i198808-199106
11181PLATE, CYLINDER HEAD, REAR
main11181-62010i198808-199106
11183PLUG, SEMICIRCULAR
main11183-62010×4i198808-199106
11188PLUG, CAMSHAFT HOUSING
main11188-62010i198808-199106
11193GASKET, SPARK PLUG TUBE
main11193-62020×6i198808-199106
11201COVER SUB-ASSY, CYLINDER HEAD
main11201-62020i198808-199106
NO.1
main11202-62020i198808-199106
NO.2
11201ANUT, CAP(FOR CYLINDER HEAD COVER)
main90176-06008×12i198808-199106
11201BWASHER, SEAL(FOR CYLINDER HEAD COVER)
main90210-07005×12i199011-199106
main90210-08025×12i198808-199011
11213GASKET, CYLINDER HEAD COVER
main11213-62010×2i198808-199106
12108CAP SUB-ASSY, OIL FILLER
main12180-65010i198808
12108AGASKET(FOR OIL FILLER CAP)
main90430-37004i198808-199106
9011008013
9017906080
9162160610
9212260612

32 parts on this diagram · 1 diagram in section

CYLINDER HEAD — Toyota Parts Diagram with OEM Numbers & Prices | EPC Data