E
EPC Data

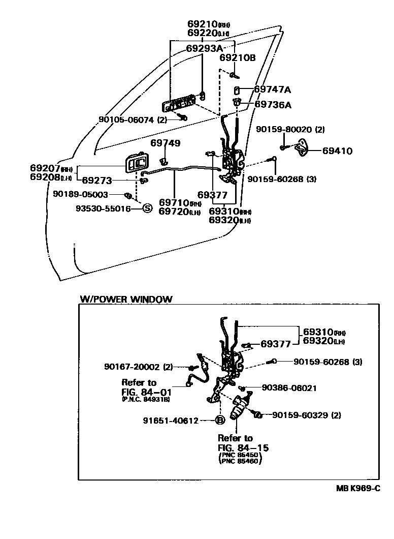
FRONT DOOR LOCK & HANDLE

Parts diagram
69207HANDLE SUB-ASSY, FRONT DOOR INSIDE, RH
main69205-32020-03i198710-198904
MEDIUM GRAY,TRIM1#
main69205-32020-04i198611-198710
BLUE,DARK BLUE
main69205-32020-05i198611-198710
BEIGE,DARK BEIGE
main69205-32030-03i198710-198904
MEDIUM GRAY,TRIM1#
main69205-32030-04i198611-198710
BLUE,DARK BLUE
main69205-32030-05i198710-198808
DARK BEIGE,TRIM4#
69208HANDLE SUB-ASSY, FRONT DOOR INSIDE, LH
main69206-32020-03i198710-198904
MEDIUM GRAY,TRIM1#
main69206-32020-04i198710-198904
DARK BLUE,TRIM8#
main69206-32020-05i198611-198710
BEIGE,DARK BEIGE
main69206-32030-03i198611-198710
GRAY,MEDIUM GRAY
main69206-32030-04i198611-198710
BLUE,DARK BLUE
main69206-32030-05i198611-198710
BEIGE,DARK BEIGE
69210HANDLE ASSY, FRONT DOOR, OUTSIDE RH
main69210-32030i198611-198904
main69210-32040i198611-198710
69210BCUSHION(FOR FRONT DOOR OUTSIDE HANDLE)
main90541-03021×4i198611-198710
69220HANDLE ASSY, FRONT DOOR OUTSIDE, LH
main69220-32030i198611-198710
69273SNAP, DOOR INSIDE HANDLE ROD
main69759-14050i198611-198710
RH
main69759-24010i198808-198904
RH
main69759-24020i198611-198710
LH
main69759-24070i198611-198710
LH
69293ASNAP, FRONT DOOR OUTSIDE HANDLE
main69293-12050i198611-198710
RH
main69293-12060i198611-198710
LH
69310LOCK ASSY, FRONT DOOR, RH
main69310-32180i198611-198904
main69310-32190i198611-198710
69320LOCK ASSY, FRONT DOOR, LH
main69320-32170i198611-198904
main69320-32220i198710-198808
69377SNAP, FRONT DOOR LOCK CONTROL ROD
main69759-24050i198611-198710
LH
main69759-24060i198808-198904
RH
69410PLATE ASSY, FRONT DOOR LOCK STRIKER
main69410-87001×2i198710-198808
69710LINK ASSY, FRONT DOOR OPEN CONTROL, RH
main69711-32030i198611-198710
69720LINK ASSY, FRONT DOOR OPEN CONTROL, LH
main69712-32020i198611-198710
69736AGUIDE, FRONT DOOR LOCK LINK
main69736-12030×2i198808-198904
69747ABUTTON, DOOR LOCKING(FOR FRONT DOOR)
main69741-32020-03×2i198611-198710
GRAY,MEDIUM GRAY
main69741-32020-04×2i198611-198710
BLUE,DARK BLUE
main69741-32020-05×2i198611-198710
BEIGE,DARK BEIGE
69749CLAMP, FRONT DOOR LOCK LINK
main69749-30020×2i198808-198904
8401SWITCH & RELAY & COMPUTER
8415PASSIVE BELT SYSTEM
9010506074
9015960268
9015960329
9015980020
9016720002
9018905003
9038606021
9165140612
9353055016

27 parts on this diagram · 1 diagram in section

FRONT DOOR LOCK & HANDLE — Toyota Parts Diagram with OEM Numbers & Prices | EPC Data