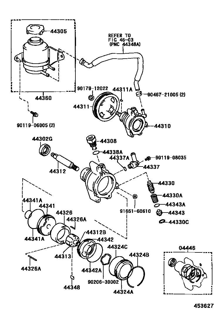
VANE PUMP & RESERVOIR (POWER STEERING)

04446GASKET KIT, POWER STEERING PUMP
sub04446-20031
44302GSEAL, OIL, NO.2(FOR VANE PUMP HOUSING)
44308UNION SUB-ASSY, PRESSURE PORT
sub44308-22050
44311AKEY, VANE PUMP PULLEY
44312SHAFT, VANE PUMP
44312BRING, SNAP, NO.1(FOR VANE PUMP SHAFT)
44313ROTOR, VANE PUMP
NO MARK,NO MARK
MARK 1,MARK 1
MARK 2,MARK 2
MARK 3
MARK 4,MARK 4
NO MARK
MARK 1
MARK 2
MARK 3
MARK 4
44324AHOUSING, PUMP, REAR
44324BRING, HOLE SNAP(FOR PUMP HOUSING REAR)
44324CRING, O(FOR PUMP HOUSING REAR)
44326RING, CAM(FOR VANE PUMP)
NO MARK,NO MARK
MARK 1
MARK 2
MARK 3
MARK 4
44326APIN, STRAIGHT(FOR VANE PUMP CAM RING)
L=28,OD=4.0,L=28
L=43,OD=4.0,L=43
44330VALVE ASSY, FLOW CONTROL
44330ASPRING, COMPRESSION(FOR FLOW CONTROL VALVE)
44330CRING, SNAP(FOR FLOW CONTROL VALVE)
44337UNION, POWER STEERING SUCTION PORT
44337ARING, O(FOR POWER STEERING SUCTION PORT)
sub90301-11016
44338ARING, O(FOR PRESSURE PORT UNION)
44341PLATE, VANE PUMP SIDE, FRONT
44341ARING, O(FOR VANE PUMP FRONT SIDE PLATE)
W(POWER STEERING),OUTER
44342PLATE, VANE PUMP SIDE, REAR
44342ARING, O(FOR VANE PUMP SIDE PLATE REAR)
44343ARING, O(FOR FLOW CONTROL SPRING SEAT)
44348PLATE, VANE PUMP
L=14.997,L=14.996-14.998,ROTOR NO MARK
L=14.995
L=14.993
L=14.991
L=14.989
4503
9011906005
main90119-06005
9011908035
main90119-08035
9017912022
main90179-12022
9020630002
main90206-30002
9046721005
main90467-21005
9165160610
main91651-60610
36 parts on this diagram · 1 diagram in section