E
EPC Data

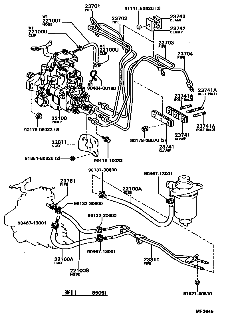
INJECTION PUMP ASSEMBLY

Parts diagram
22100PUMP ASSY, INJECTION OR SUPPLY
main22100-64360i198308-198508
main22100-64370i198308-198508
main22100-64380i198308-198508
W/TACHO METER PICK-UP
main22100-64390i198308-198508
W/TACHO METER PICK-UP
main22100-64870i198508-198610
main22100-64880i198508-198610
22100AHOSE OR PIPE, FUEL(FOR INJECTION PUMP TO FUEL FILTER)
main23273-64030i198308-198610
PIPE TO PUMP
main90447-14013i198308-198610
L=380,FILTER TO PIPE
22100SHOSE, FUEL(FOR INJECTION PUMP TO FUEL PIPE)
main23274-64010i198308-198610
22100THOSE(FOR INTAKE MANIFOLD TO INJECTION PUMP)
main90445-08237i198308-198508
22100UCLIP, HOSE FUEL(FOR INJECTION PUMP)
main90467-07016i198308-198508
22811STAY, INJECTION PUMP, NO.1
main22811-64010i198308-198610
23701PIPE SUB-ASSY, INJECTION, NO.1
main23701-64060i198308-198610
23702PIPE SUB-ASSY, INJECTION, NO.2
main23702-64060i198308-198610
23703PIPE SUB-ASSY, INJECTION, NO.3
main23703-64060i198308-198610
23704PIPE SUB-ASSY, INJECTION, NO.4
main23704-64060i198308-198610
23741CLAMP, INJECTION PIPE, NO.1
main23741-64010i198308-198610
23741ABOLT, STUD(FOR INJECTION PIPE CLAMP)
main90116-06275i198308-198610
NO.1
main92122-60622i198308-198610
NO.2
23742CLAMP, INJECTION PIPE, NO.2
main23741-54010i198308-198610
23743CLAMP, INJECTION PIPE, NO.3
main23742-54010i198308-198610
23761PIPE, NOZZLE LEAKAGE, NO.1
main23764-64040i198308-198610
23811PIPE, FUEL(FOR FUEL FILTER TO INJECTION PUMP)
main23811-64020i198308-198610
9011910033
9017906070
9017908022
9046400190
9046713001
9111150620
9162140610
9165160820
9613230600
9613230800

26 parts on this diagram · 1 diagram in section

INJECTION PUMP ASSEMBLY — Toyota Parts Diagram with OEM Numbers & Prices | EPC Data