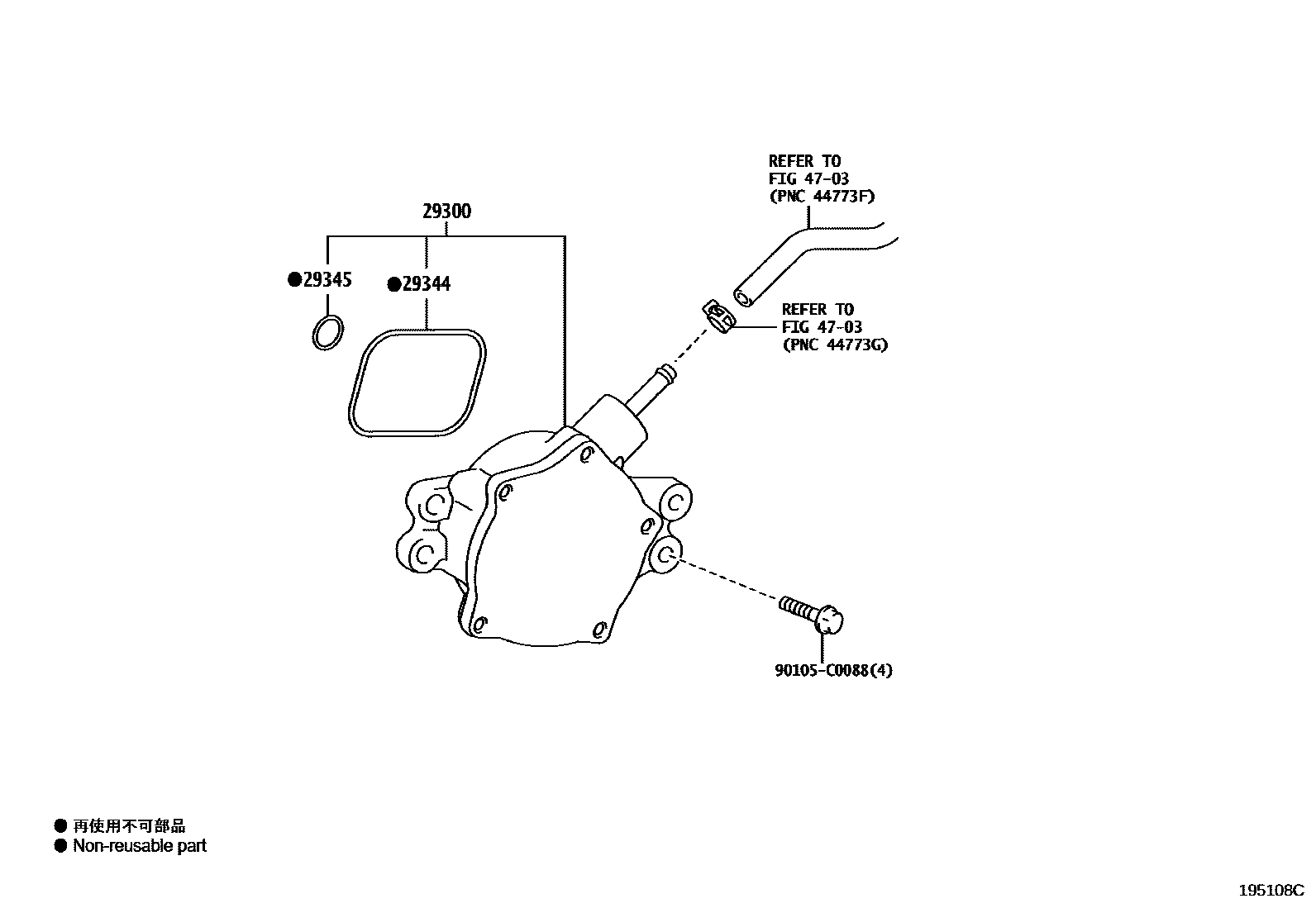
VACUUM PUMP

29300PUMP ASSY, VACUUM
*639
*639
*640
*640
*641
*641
*630
29344RING, O VACUUM PUMP, NO.2
29345RING, O VACUUM PUMP, NO.3
4703BRAKE BOOSTER & VACUUM TUBE
90105C0088
main90105-C0088
5 parts on this diagram · 4 diagrams in section

5 parts on this diagram · 4 diagrams in section