E
EPC Data

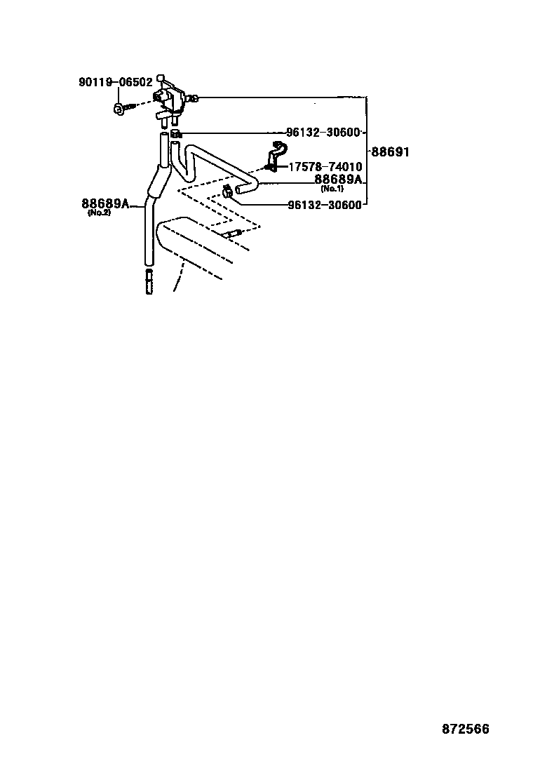
HEATING & AIR CONDITIONING - VACUUM PIPING

Parts diagram
88689AHOSE, COOLER VACUUM NO.1
main17341-74421i199211-199601
NO.1
main17342-74200i199211-199601
NO.2
88691VALVE, MAGNET (FOR IDLE UP DEVICE)
main17600-74081i199211-199601
1757874010CLAMP, PIPE
9011906502
9613230600

5 parts on this diagram · 1 diagram in section

HEATING & AIR CONDITIONING - VACUUM PIPING — Toyota Parts Diagram with OEM Numbers & Prices | EPC Data