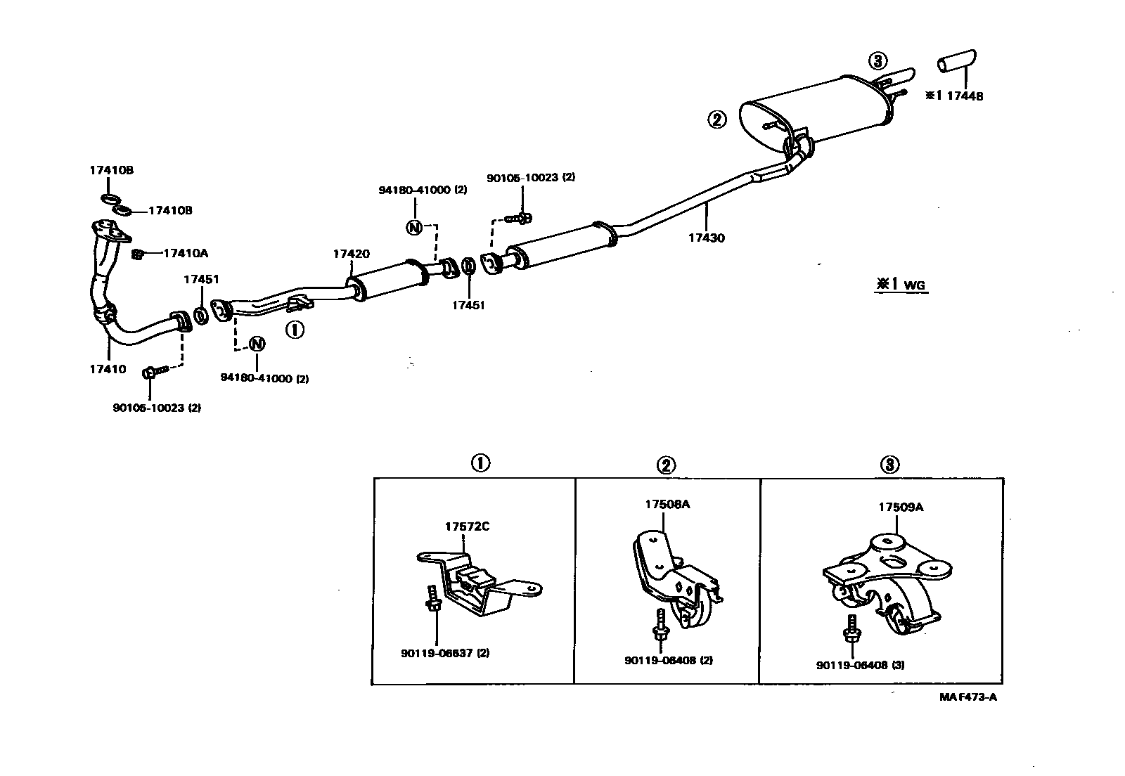
EXHAUST PIPE

17410PIPE ASSY, EXHAUST, FRONT
17410ANUT, EXHAUST PIPE SET STUD BOLT
17410BGASKET, EXHAUST PIPE
17420PIPE ASSY, EXHAUST, CENTER
17430PIPE ASSY, EXHAUST, TAIL
17448BAFFLE, TAILPIPE
17451GASKET, EXHAUST PIPE
17508ABRACKET SUB-ASSY, EXHAUST PIPE NO.3 SUPPORT
17509ABRACKET SUB-ASSY, EXHAUST PIPE NO.4 SUPPORT
17572CBRACKET, EXHAUST PIPE FRONT (FOR FRONT)
9010510023
main90105-10023
9011906408
main90119-06408
9011906637
main90119-06637
9418041000
main94180-41000
14 parts on this diagram · 1 diagram in section