E
EPC Data

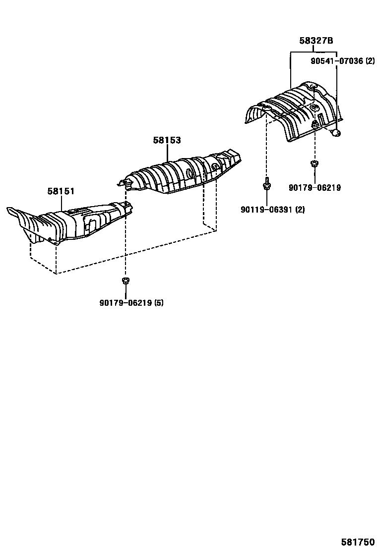
FLOOR INSULATOR

Parts diagram
58151INSULATOR, FRONT FLOOR HEAT, NO.1
main58041-20060i200604
main58151-20190i200301-200604
58153INSULATOR, FRONT FLOOR HEAT, NO.2
main58153-05030i200301-200604
58327BINSULATOR, MAIN MUFFLER HEAT
main58327-20150i200301-200604
9011906391
9017906219
9054107036

6 parts on this diagram · 1 diagram in section

FLOOR INSULATOR — Toyota Parts Diagram with OEM Numbers & Prices | EPC Data