E
EPC Data

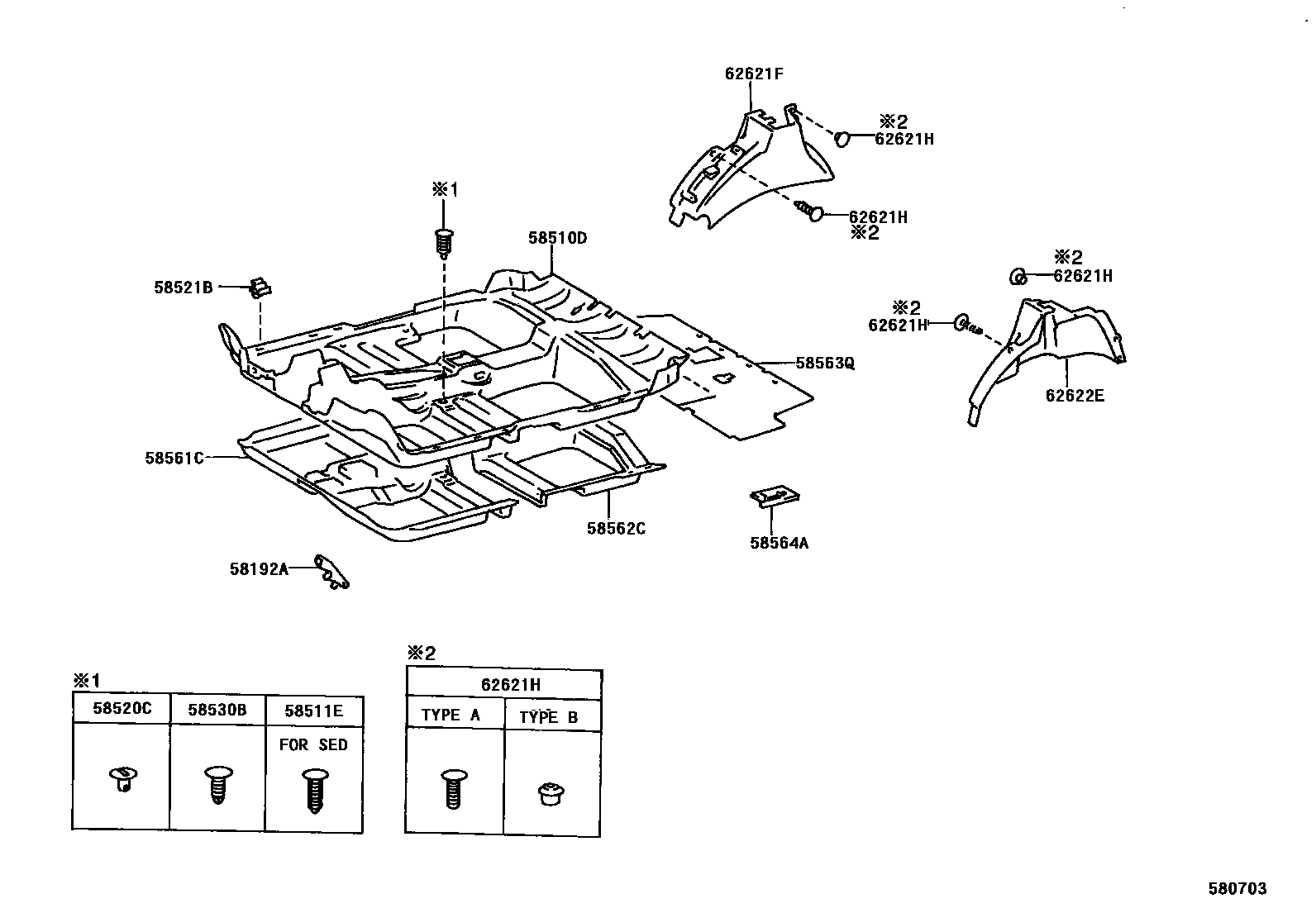
MAT & CARPET

Parts diagram
58192AFOOTREST, FRONT FLOOR, LH
main58192-05020i199710
58510DCARPET ASSY, FLOOR, FRONT
main58510-05090-A1i199710-199810
IVORY,TRIM6#
main58510-05090-B0i199710-199810
MEDIUM GRAY,TRIM1#
main58510-05090-B2i199810-199901
MEDIUM GRAY,TRIM1#
main58510-05090-B3i199901-200004
MEDIUM GRAY,TRIM1#
main58510-05090-G0i199810-199901
SLATE GREEN,TRIM6#
main58510-05090-G1i199901-200004
SLATE GREEN,TRIM6#
main58510-05091-B3i200004-200007
MD.GRAY,TRIM1#
main58510-05091-B4i200007
DARK GRAY,TRIM1#
main58510-05091-G1i200004
SLATE GREEN,TRIM6#
main58510-05100-A1i199710-199810
IVORY,TRIM6#
main58510-05100-B0i199710-199810
MEDIUM GRAY,TRIM1#
main58510-05100-B2i199810-199901
MEDIUM GRAY,TRIM1#
main58510-05100-B3i199901-200004
MEDIUM GRAY,TRIM1#
main58510-05100-G0i199810-199901
SLATE GREEN,TRIM6#
main58510-05100-G1i199901-200004
SLATE GREEN,TRIM6#
main58510-05101-B3i200004-200007
MD.GRAY,TRIM1#
main58510-05101-B4i200007
DARK GRAY,TRIM1#
main58510-05101-G1i200004
SLATE GREEN,TRIM6#
58511ECLIP(FOR FRONT FLOOR MAT)
main90467-07049-C0×2i199710
BLACK,TRIM1#,6#
58520CCLIP(FOR FRONT FLOOR CARPET)
main90467-05080-B1×2i199710-200007
MD. GRAY,TRIM1#
main90467-05080-B2×2i200007
DK.GRAY,TRIM1#
main90467-05080-E1×2i199710-199810
MD. NEUTRAL BONE,TRIM6#
main90467-05080-G1×2i199810
SLATE GREEN,TRIM6#
58521BHOOK, FLOOR CARPET
main58521-05020×10i199710
58530BCLIP(FOR FRONT FLOOR CARPET)
main90467-07090-B2×6i199710-200007
MD.GRAY,TRIM1#
main90467-07090-B3×6i200007
DK.GRAY,TRIM1#
main90467-07090-E1×6i199710-199810
MD. NEUTRAL BONE,TRIM6#
main90467-07090-G0×6i199810
SLATE GREEN,TRIM6#
58561CSILENCER, FRONT FLOOR, NO.1
main58561-05010i199710-199911
main58561-05011i199911-200003
main58561-05012i200003
main58561-05020i199710-199911
main58561-05021i199911-200003
main58561-05022i200003
58562CSILENCER, FRONT FLOOR, NO.2
main58562-05010i199710
58563QSILENCER, FRONT FLOOR, NO.3
main58563-05010i199710
58564ASILENCER, FRONT FLOOR, NO.4
main58564-05010i199710-200007
main58564-05020i199710-200007
main58564-05030i200007
main58564-05040i200007
62621FPAD, QUARTER WHEEL HOUSE, INNER FRONT RH
main62621-05010i199710
62621HCLIP(FOR QUARTER WHEEL HOUSE PAD)
main90467-05021-B8×2i199810-200007
TYPE A:REFER TO ILLUSTRATION,LI. GRAY,TRIM1#
main90467-05021-C0×2i199710-199810
TYPE A:REFER TO ILLUSTRATION,BLACK,TRIM1#,6#
main90467-05021-G1×2i199810-200007
TYPE A:REFER TO ILLUSTRATION,LT.GREEN,TRIM6#
main90467-12069×2i199710
TYPE B:REFER TO ILLUSTRATION
62622EPAD, QUARTER WHEEL HOUSE, INNER FRONT LH
main62622-05010i199710

13 parts on this diagram · 1 diagram in section

MAT & CARPET — Toyota Parts Diagram with OEM Numbers & Prices | EPC Data