E
EPC Data
Pricing
Sign In
Home
›
GR
›
271320
›
INDICATOR
INDICATOR
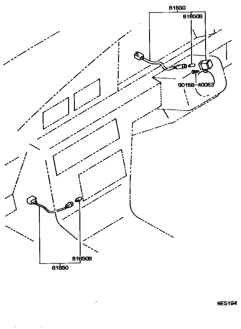
81850
LAMP ASSY, INDICATOR
main
81850-20190
i
AT171,ST171..EXS,GL,GT
198712-199208
IGNITION KEY LAMP
main
81850-20220
i
ST171..GL,XL;AT17#,CT17#..3FC,4F,5F
198712-199204
main
81850-20300
i
AT17#,CT17#,ST171
198911-199211
ASHTRAY LAMP
81850B
BULB, INDICATOR LAMP
main
90981-11014
i
AT17#,CT17#,ST171
198712-199211
14V 1.4W
9016840063
main
90168-40063
3 parts on this diagram · 1 diagram in section
INDICATOR — Toyota Parts Diagram with OEM Numbers & Prices | EPC Data