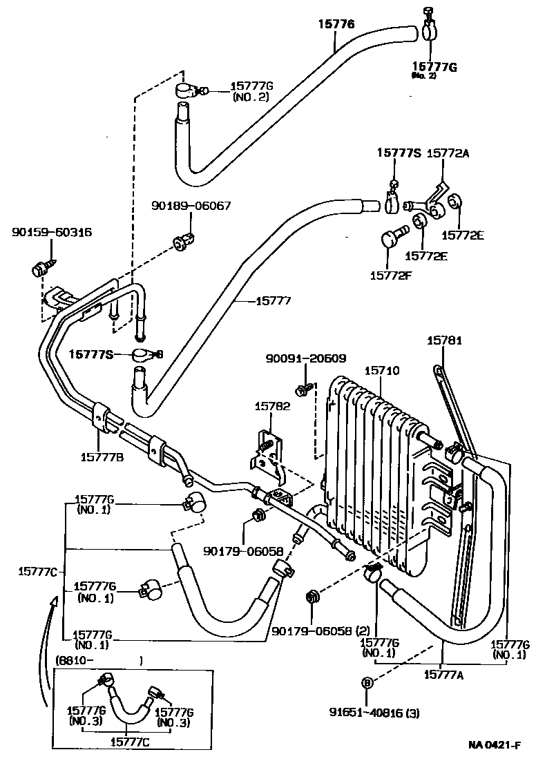
15710COOLER ASSY, OIL
main15710-15010i4AF..AT171..GCC; 4AF..AT171..LHD..4F198712-199203 MIDDLE EAST SPEC
15772AUNION(FOR OIL PIPE)
main90405-10030i4AF..AT171..GCC; 4AF..AT171..LHD..4F198712-199203 MIDDLE EAST SPEC
15772EGASKET(FOR OIL PIPE)
main90430-12018×2i4AF..AT171..GCC; 4AF..AT171..LHD..4F198712-199004 MIDDLE EAST SPEC
main90430-12027×2i4AF..AT171..GCC; 4AF..AT171..LHD..4F199004-199203 MIDDLE EAST SPEC
15772FBOLT, UNION(FOR OIL PIPE)
main90401-12009i4AF..AT171..GCC; 4AF..AT171..LHD..4F198712-199203 MIDDLE EAST SPEC
15776HOSE, OIL COOLER, NO.4
main15776-15010i4AF..AT171..GCC; 4AF..AT171..LHD..4F198712-199203 MIDDLE EAST SPEC
15777HOSE, OIL COOLER
main15776-15010i4AF..AT171..GCC; 4AF..AT171..LHD..4F198712-199203 MIDDLE EAST SPEC
15777AHOSE, OIL COOLER
main15778-15020i4AF..AT171..GCC; 4AF..AT171..LHD..4F198712-199203 MIDDLE EAST SPEC
15777BPIPE, OIL COOLER
main15767-15030i4AF..AT171..GCC; 4AF..AT171..LHD..4F198712-199203 MIDDLE EAST SPEC
15777CHOSE, OIL COOLER
main15779-15020i4AF..AT171..GCC; 4AF..AT171..LHD..4F198712-198810 MIDDLE EAST SPEC
main15779-15021i4AF..AT171..GCC; 4AF..AT171..LHD..4F198810-199203 MIDDLE EAST SPEC
15777GCLAMP OR CRIP, HOSE
main90460-01001×3i4AF..AT171..GCC; 4AF..AT171..LHD..4F198712-199203 MIDDLE EAST SPEC,NO.2; NO.2
main90467-15018×2i4AF..AT171..GCC; 4AF..AT171..LHD..4F198810-199203 MIDDLE EAST SPEC,NO.3; NO.3
main90467-16004×5i4AF..AT171..GCC; 4AF..AT171..LHD..4F198712-198810 MIDDLE EAST SPEC,NO.1; NO.1
15777SCLAMP OR CLIP, HOSE
main90460-01001i4AF..AT171..GCC; 4AF..AT171..LHD..4F198712-198912 MIDDLE EAST SPEC
15781BRACKET, OIL COOLER, NO.1
main15781-15010i4AF..AT171..GCC; 4AF..AT171..LHD..4F198712-198807 MIDDLE EAST SPEC
main15781-15020i4AF..AT171..GCC; 4AF..AT171..LHD..4F198807-199203 MIDDLE EAST SPEC
15782BRACKET, OIL COOLER, NO.2
main15782-15010i4AF..AT171..GCC; 4AF..AT171..LHD..4F198712-198807 MIDDLE EAST SPEC
main15782-15020i4AF..AT171..GCC; 4AF..AT171..LHD..4F198807-199203 MIDDLE EAST SPEC