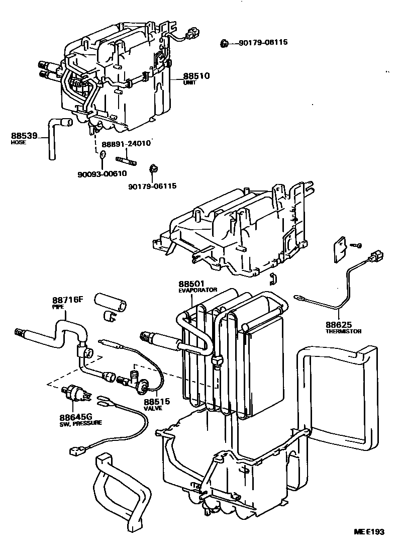
HEATING & AIR CONDITIONING - COOLER UNIT

88501EVAPORATOR SUB-ASSY, COOLER, NO.1
88510UNIT ASSY, COOLER
88515VALVE, COOLER EXPANSION
88539HOSE, COOLER UNIT DRAIN, NO.1
88625THERMISTOR, COOLER, NO.1
main88625-12070iAT151,CT150,ST15#..RHD..(GEN,TH); CT150,ST150..LHD;AT151..LHD..(EUG,FRG);AT151..LHD..(GEN,SAA)198310-198711
88645GSWITCH, PRESSURE
main88645-12010iAT151,CT150,ST15#..RHD..(GEN,TH); CT150,ST150..LHD;AT151..LHD..(EUG,FRG);AT151..LHD..(GEN,SAA)198310-198711
88716FPIPE, COOLER REFRIGERANT LIQUID, F
8889124010PACKING (FOR COOLER)
main88891-24010
9009300610
main90093-00610
9017906115
main90179-06115
10 parts on this diagram · 3 diagrams in section