E
EPC Data

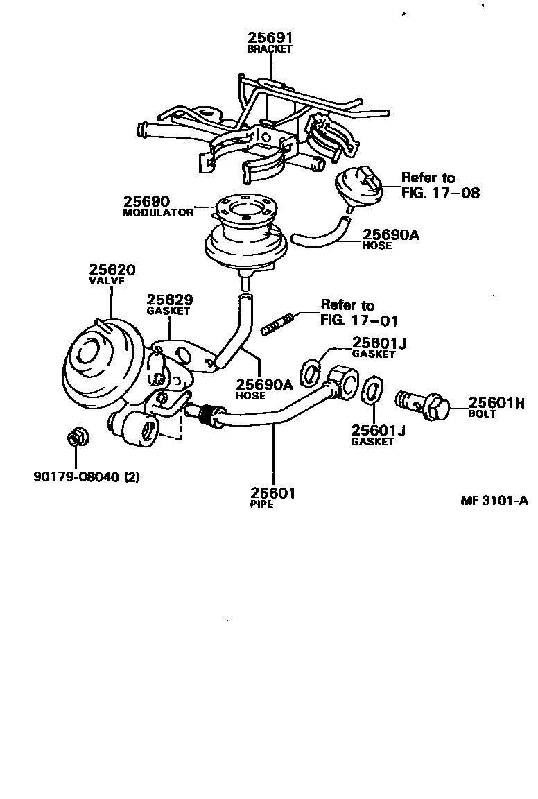
EXHAUST GAS RECIRCULATION SYSTEM

Parts diagram
1708VACUUM PIPING
25601PIPE SUB-ASSY, EGR, NO.1
main25601-15030i198310-198711
25601HBOLT, UNION(FOR EGR PIPE,NO.1)
main90401-20003i198310-198711
25601JGASKET(FOR EGR PIPE, NO.1)
main90430-20005×2i198310-198711
25620VALVE ASSY, EGR
main25620-15030i198608-198711
main25620-15220i198310-198608
main25620-15240i198310-198608
main25620-15250i198608-198711
25629GASKET, EGR VALVE ADAPTER
main25629-15011i198310-198711
25690MODULATOR ASSY, EGR VACUUM
main25870-15110i198608-198711
main25870-15130i198608-198711
main25870-15140i198310-198608
25690AHOSE(FOR EGR VACUUM MODULATOR)
main90445-11041×2i198310-198711
25691BRACKET, EGR VACUUM MODULATOR
main25691-16060i198310-198608
main25691-16111i198608-198711
9017908040

11 parts on this diagram · 1 diagram in section

EXHAUST GAS RECIRCULATION SYSTEM — Toyota Parts Diagram with OEM Numbers & Prices | EPC Data