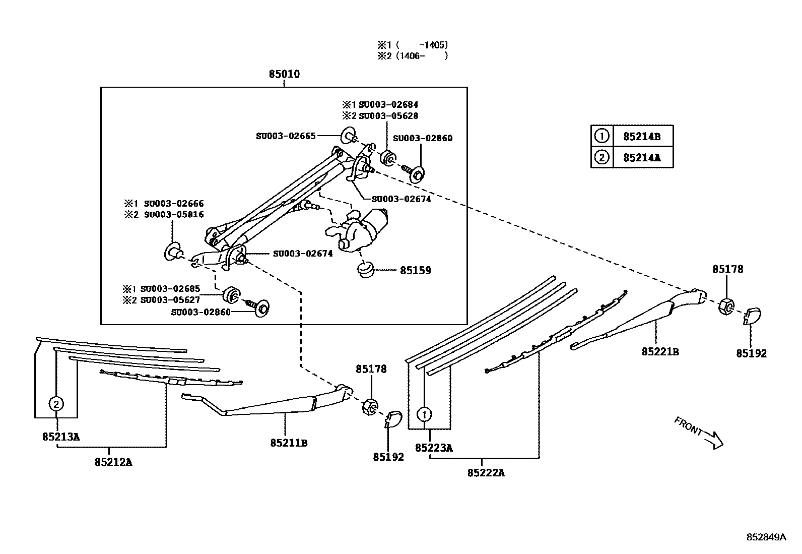
WINDSHIELD WIPER

85010MOTOR & LINK ASSY, FR WIPER
85159CUSHION, WINDSHIELD WIPER MOTOR
85178NUT (FOR FRONT WIPER ARM SETTING)
85192COVER, WINDSHIELD WIPER ARM
85211BARM, FRONT WIPER, RH
85212ABLADE, FR WIPER, RH
85213ARUBBER, WIPER BLADE, RH
85221BARM, FRONT WIPER, LH
85222ABLADE, FR WIPER, LH
85223ARUBBER, FRONT WIPER BLADE, LH
SU00302665
mainSU003-02665
SU00302666
mainSU003-02666
SU00302674
mainSU003-02674
SU00302684
mainSU003-02684
SU00302685
mainSU003-02685
SU00302860
mainSU003-02860
SU00305627
mainSU003-05627
SU00305628
mainSU003-05628
SU00305816
mainSU003-05816
21 parts on this diagram · 2 diagrams in section