MUDGUARD & SPOILER

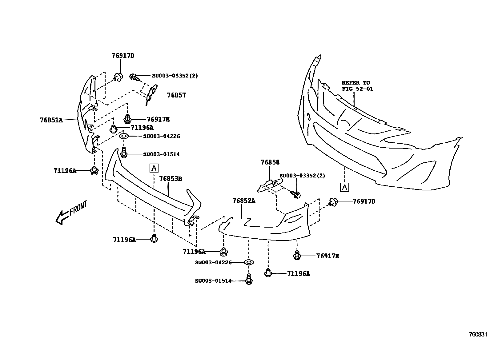
5201FRONT BUMPER & BUMPER STAY
71196CLIP(FOR REAR SPOILER)
71196ACLIP
76851ACOVER, FRONT SPOILER, RH
GALAXY BLUE SILICA,E8H
61K
H8R
LIGHTNING RED,C7P
STERLING SILVER M,D6S
D4S
SATIN WHITE PEARL,37J
ICE SILVER METALLIC,G1U
CRYSTAL WHITE PEARL,K1X
LAPIS BLUE PEARL,K3X
PURE RED,M7Y
DARK GRAY METALLIC,61K
LAPIS BLUE PEARL,K3X
ORANGE METALLIC,H8R
ICE SILVER METALLIC,G1U
PURE RED,M7Y
CRYSTAL BLACK SILICA,D4S
CRYSTAL WHITE PEARL,K1X
76852ACOVER, FRONT SPOILER, LH
GALAXY BLUE SILICA,E8H
61K
H8R
LIGHTNING RED,C7P
STERLING SILVER M,D6S
D4S
SATIN WHITE PEARL,37J
ICE SILVER METALLIC,G1U
CRYSTAL WHITE PEARL,K1X
LAPIS BLUE PEARL,K3X
PURE RED,M7Y
DARK GRAY METALLIC,61K
LAPIS BLUE PEARL,K3X
ORANGE METALLIC,H8R
ICE SILVER METALLIC,G1U
PURE RED,M7Y
CRYSTAL BLACK SILICA,D4S
CRYSTAL WHITE PEARL,K1X
76853BCOVER, FRONT SPOILER, CENTER
GALAXY BLUE SILICA,E8H
61K
H8R
C7P
D6S
D4S
37J
ICE SILVER METALLIC,G1U
CRYSTAL WHITE PEARL,K1X
LAPIS BLUE PEARL,K3X
PURE RED,M7Y
76857RETAINER, FRONT SPOILER SIDE, RH
76858RETAINER, FRONT SPOILER SIDE, LH
76917DCLIP
76917ECLIP
SU00301514
mainSU003-01514
SU00303352
mainSU003-03352
SU00304226
mainSU003-04226
13 parts on this diagram · 4 diagrams in section