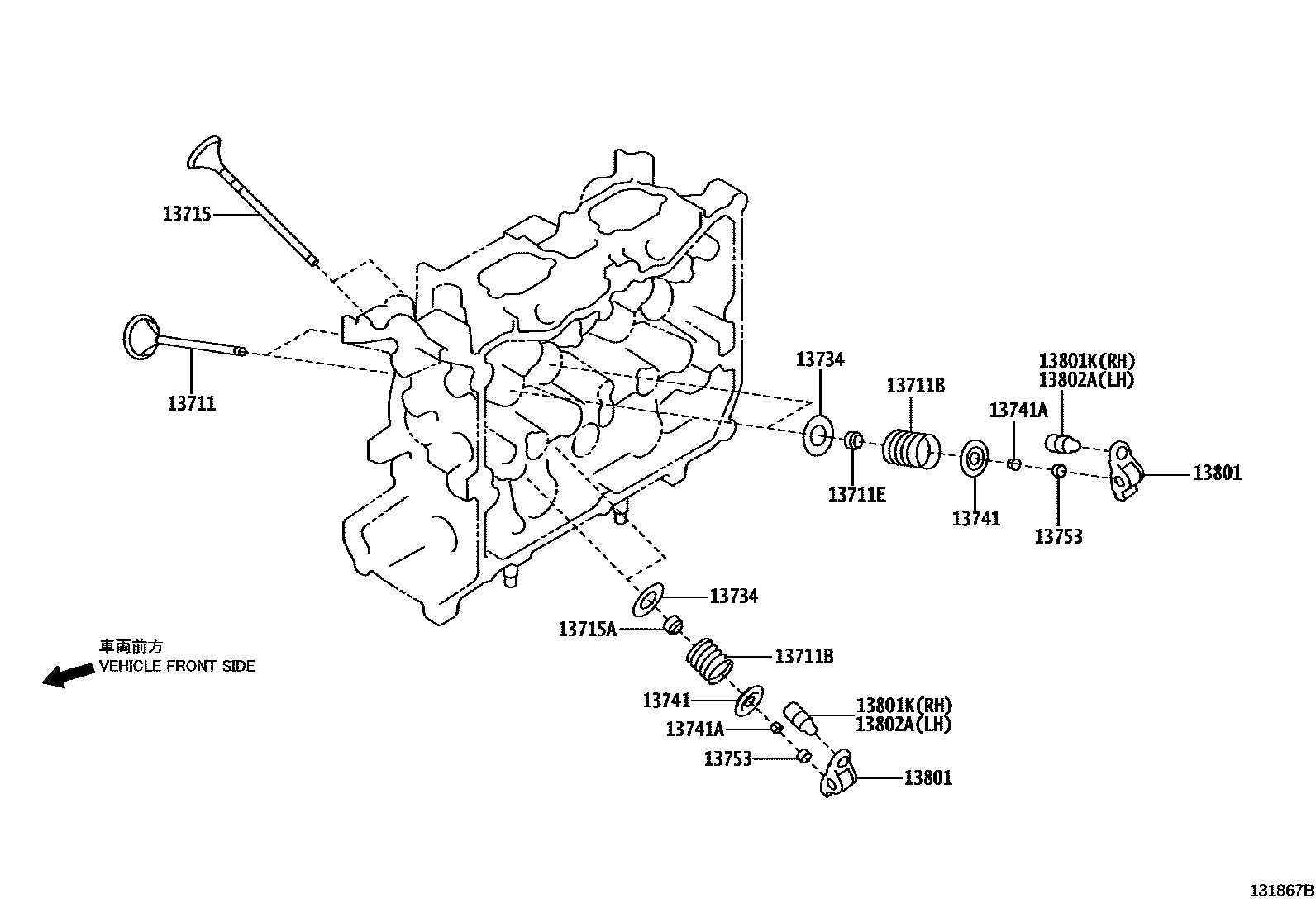
CAMSHAFT & VALVE

13711BSPRING, COMPRESSION(FOR INNER)
13711ESEAL, INTAKE VALVE STEM OIL
13715VALVE, EXHAUST
13715ASEAL, EXHAUST VALVE STEM OIL
13734SEAT, VALVE SPRING
13741RETAINER, VALVE SPRING
13741ALOCK, VALVE SPRING RETAINER
13753SHIM, VALVE ADJUSTING
T=1.92
T=1.94
T=1.96
T=1.98
T=2.00
T=2.02
T=2.04
T=2.06
T=2.07
T=2.08
T=2.09
T=2.10
T=2.11
T=2.12
T=2.13
T=2.14
T=2.15
T=2.16
T=2.17
T=2.18
T=2.19
T=2.20
T=2.21
T=2.22
T=2.23
T=2.24
T=2.25
T=2.26
T=2.27
T=2.28
T=2.29
T=2.30
T=2.31
T=2.32
T=2.33
T=2.34
T=2.35
T=2.36
T=2.37
T=2.38
T=2.39
T=2.40
T=2.41
T=2.42
T=2.43
T=2.44
T=2.45
T=2.46
T=2.47
T=2.48
T=2.49
T=2.50
T=2.51
T=2.52
T=2.53
T=2.54
T=2.55
T=2.56
T=2.57
T=2.58
T=2.59
T=2.60
T=2.61
T=2.62
T=2.64
T=2.66
T=2.68
T=2.70
T=2.72
T=2.74
T=2.76
T=1.80
T=1.82
T=1.84
T=1.86
T=1.88
T=1.90
13801ARM SUB-ASSY, VALVE ROCKER, NO.1
13801KPIVOT, ROCKER ARM RH
13802APIVOT, ROCKER ARM LH
12 parts on this diagram · 3 diagrams in section