E
EPC Data

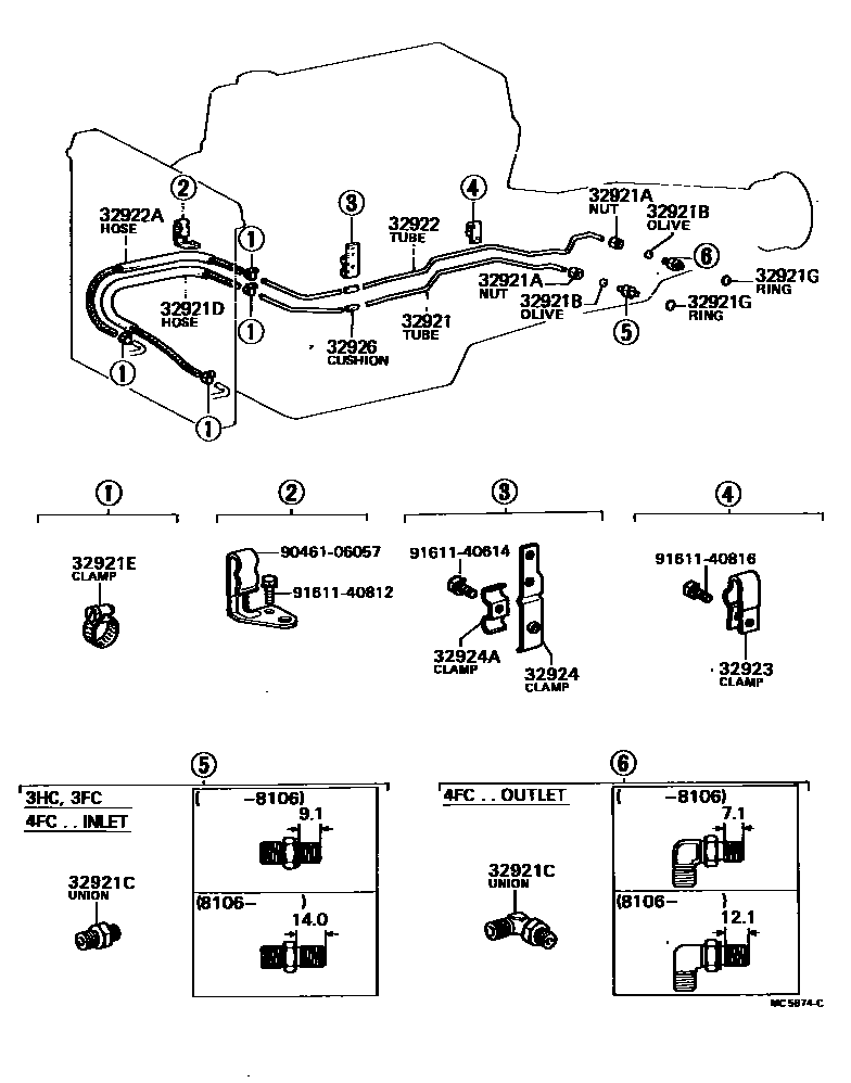
OIL COOLER & TUBE (ATM)

Parts diagram
32921TUBE, OIL COOLER INLET, NO.1
main32921-12030i197809-198008
main32921-14050i198003-198108
main32921-14110i198108-198112
main32921-14150i198108-198112
main32921-20140i198008-198108
32921ANUT, UNION(FOR OIL COOLER TUBE)
main90402-13041×2i197809-198108
32921BOLIVE(FOR OIL COOLER TUBE)
main96395-71400×2i197809-198108
32921CUNION(FOR OIL COOLER TUBE)
main90404-13003×2i198106-198108
main90404-13265×2i197809-198106
main90404-14007i198108-198112
INLET
main90407-14003i198108-198112
OUTLET
32921DHOSE(FOR OIL COOLER INLET)
main32941-14013i197809-198112
main32942-14020i198003-198108
main32942-14030i198108-198112
32921ECLAMP, HOSE(FOR OIL COOLER)
main90460-14085×4i197809-198112
32921GRING, O(FOR OIL COOLER TUBE UNION)
main90301-10189×2i197809-198112
32922TUBE, OIL COOLER OUTLET, NO.1
main32922-12030i197809-198008
main32922-14040i198003-198108
main32922-14110i198108-198112
main32922-14150i198108-198112
main32922-20140i198008-198108
32922AHOSE(FOR OIL COOLER OUTLET)
main32942-14012i197809-198108
main32942-14013i198108-198112
main90445-14009i198108-198112
main90445-14236i198003-198108
32923CLAMP, AUTOMATIC TRANSMISSION OIL COOLER TUBE
main32923-20022i198003-198112
main90461-08039i197809-198112
32924CLAMP, OIL COOLER TUBE, NO.2
main32924-14010i197809-198112
32924ACLAMP(FOR OIL COOLER TUBE, NO.2)
main90462-12085i197809-198112
32926CUSHION, OIL COOLER TUBE(ATM)
main32926-30011×2i197809-198112
L=25,ID=8
9046106057
9161140614
9161140812
9161140816

17 parts on this diagram · 4 diagrams in section

OIL COOLER & TUBE (ATM) — Toyota Parts Diagram with OEM Numbers & Prices | EPC Data