E
EPC Data

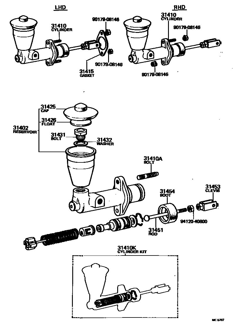
CLUTCH MASTER CYLINDER

Parts diagram
31402RESERVOIR SUB-ASSY, CLUTCH MASTER CYLINDER
main31402-20020i197809-198301
31410CYLINDER ASSY, CLUTCH MASTER
main31410-20140i197809-198301
main31410-20150i197809-198205
main31410-20180i197809-197908
31410ABOLT(FOR CLUTCH MASTER CYLINDER SETTING)
main90116-08018i197809-197810
main90116-08079i197810-198301
31410KCYLINDER KIT, CLUTCH MASTER
main04311-12020i197809-198301
31415GASKET, CLUTCH MASTER CYLINDER
main31415-14010i197809-198205
31425CAP, CLUTCH MASTER CYLINDER RESERVOIR FILLER
main47230-12030i197809-197904
main47230-20040i197904-198301
31426FLOAT, CLUTCH MASTER CYLINDER RESERVOIR
main31426-30011i197809-198301
31431BOLT, CLUTCH MASTER CYLINDER RESERVOIR SET
main47231-30010i197809-198301
31432WASHER, CLUTCH RESERVOIR SET BOLT
main47232-30010i197809-198301
31451ROD, CLUTCH MASTER CYLINDER PUSH
main31451-14010i197809-198301
31453CLEVIS, CLUTCH MASTER CYLINDER PUSH ROD
main31453-22010i197809-198301
31454BOOT, CLUTCH MASTER CYLINDER
main31454-14010i197809-198301
9017908146
9412040800

14 parts on this diagram · 1 diagram in section

CLUTCH MASTER CYLINDER — Toyota Parts Diagram with OEM Numbers & Prices | EPC Data